授权公布号:CN214463434U
机库门上导向抗风轮装置
有效
申请
2020-12-28
申请公布
1970-01-01
授权
2021-10-22
预估到期
2030-12-28
| 申请号 | CN202023228114.1 |
| 申请日 | 2020-12-28 |
| 授权公布号 | CN214463434U |
| 授权公告日 | 2021-10-22 |
| 分类号 | E05D13/00;E06B3/01 |
| 分类 | 锁;钥匙;门窗零件;保险箱; |
| 申请人名称 | 无锡旭峰门业制造有限公司 |
| 申请人地址 | 江苏省无锡市锡山区东港镇里国开发区 |
专利法律状态
2021-10-22
授权
状态信息
授权
摘要
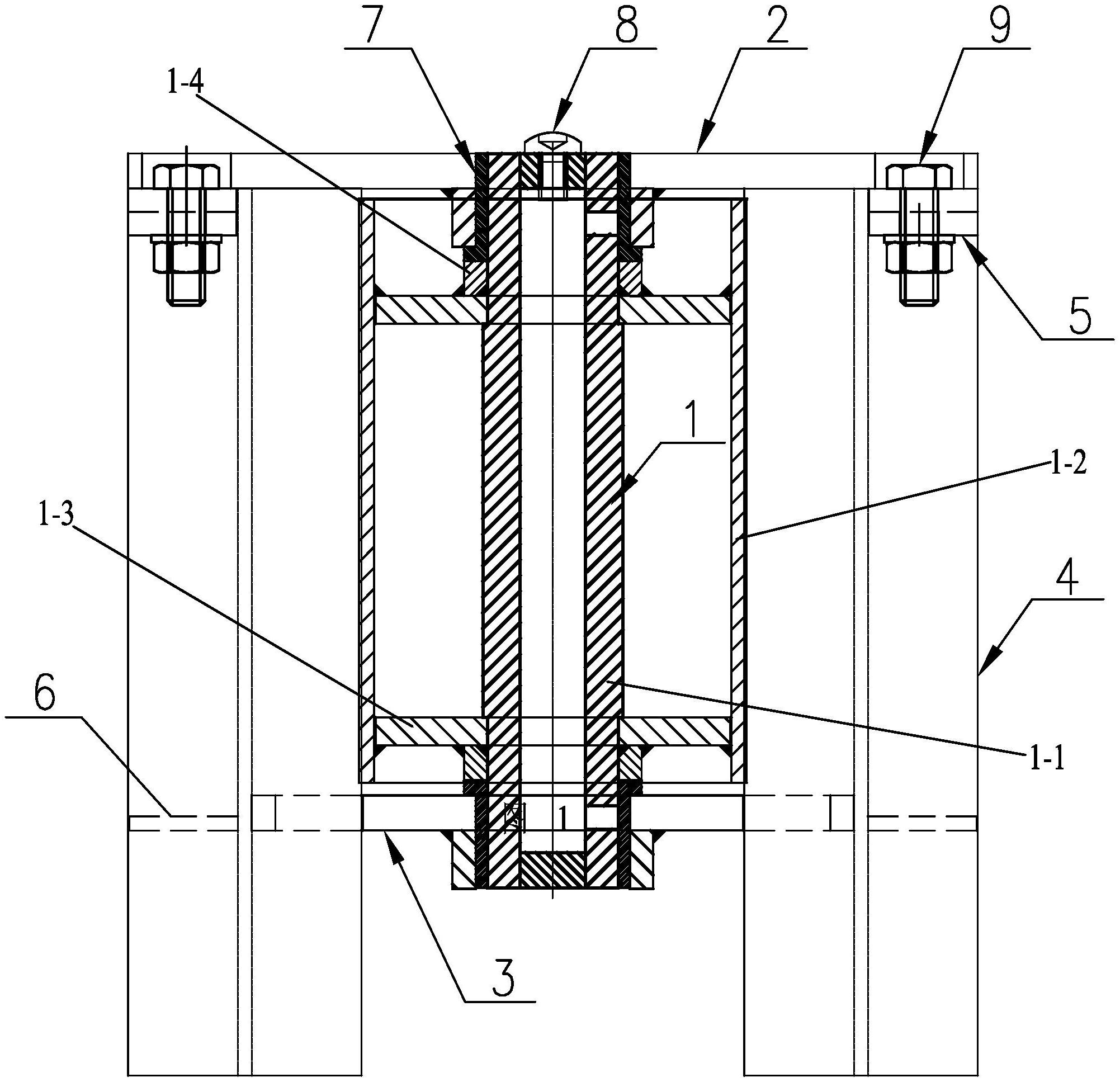
本实用新型属于机库门设备技术领域,涉及一种机库门上导向抗风轮装置,包括相互平行设置的上盖板、下盖板,所述上盖板与下盖板之间固定设置两个H钢,所述上盖板与下盖板上同轴设置支撑套,滚筒的轴向两端分别与支撑套的内孔转动配合。本实用新型产品结构合理巧妙,针对现有同类产品在风力较大的场合使用存在的缺陷进行针对性改进,采用两点支撑结构,在使用时可以有效减少变形,大大提高了抗风能力,能有效适用于各种大型机库门。


