授权公布号:CN213742854U
机库门上导向轮装置
有效
申请
2020-07-27
申请公布
1970-01-01
授权
2021-07-20
预估到期
2030-07-27
| 申请号 | CN202021511408.2 |
| 申请日 | 2020-07-27 |
| 授权公布号 | CN213742854U |
| 授权公告日 | 2021-07-20 |
| 分类号 | E05D13/00;E05D15/06 |
| 分类 | 锁;钥匙;门窗零件;保险箱; |
| 申请人名称 | 无锡旭峰门业制造有限公司 |
| 申请人地址 | 江苏省无锡市锡山区东港镇里国开发区 |
专利法律状态
2021-07-20
授权
状态信息
授权
摘要
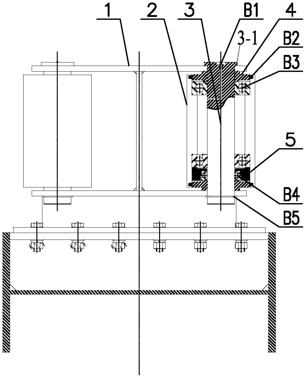
本实用新型属于机库门设备技术领域,涉及一种机库门上导向轮装置,包括上轨道及与上轨道导向设置的机库门门扇,所述机库门门扇上安装上导向轮装置;上导向轮装置包括上导向轮架,上导向轮架的下部与机库门门扇紧固连接,上导向轮架的上部两侧分别安装一根上导向轮轴,每根所述上导向轮轴上分别转动设置上导向轮,两个上导向轮设置于上轨道的轨道槽内,且两个上导向轮分别与上轨道的两个内壁滚动接触。该导向轮装置采用两点支撑结构,有效减少变形,提高了抗风能力。


