授权公布号:CN218235000U
一种柔性上叠门的安全机构
有效
申请
2022-08-16
申请公布
1970-01-01
授权
2023-01-06
预估到期
2032-08-16
| 申请号 | CN202222174789.5 |
| 申请日 | 2022-08-16 |
| 授权公布号 | CN218235000U |
| 授权公告日 | 2023-01-06 |
| 分类号 | E06B9/84 |
| 分类 | 一般门、窗、百叶窗或卷辊遮帘;梯子; |
| 申请人名称 | 无锡旭峰门业制造有限公司 |
| 申请人地址 | 江苏省无锡市锡山区东港镇里漍工业园区 |
专利法律状态
2023-01-06
授权
状态信息
授权
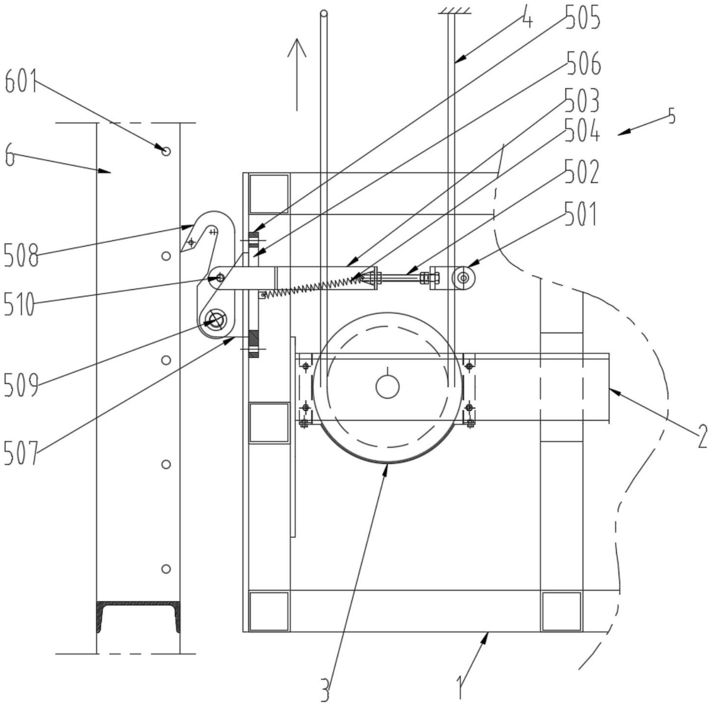
摘要
本实用新型公开了一种柔性上叠门的安全机构,包括柔性上叠门的下过梁以及用于为所述下过梁导向的滑轨,所述下过梁设置有滑轮,所述滑轮绕设有用于拉动所述下过梁上行或者下降的柔性绳;所述滑轨设置有卡接件,还包括连接部、连接于所述连接部的用于带动所述连接部向所述卡接件运动的弹性导向部、连接于所述连接部的用于固定到所述卡接件的截止部;所述截止部包括挂钩,所述挂钩能够勾住所述卡接件用以截止所述下过梁的下行运动。本实用新型防止在开关过程中钢丝绳断裂,安全机构作用保证门体不会断裂,不会掉落。


