授权公布号:CN217533130U
一种电动车悬架连接座及其悬架结构
有效
申请
2022-05-17
申请公布
1970-01-01
授权
2022-10-04
预估到期
2032-05-17
| 申请号 | CN202221197347.6 |
| 申请日 | 2022-05-17 |
| 授权公布号 | CN217533130U |
| 授权公告日 | 2022-10-04 |
| 分类号 | B62K25/04 |
| 分类 | 无轨陆用车辆; |
| 申请人名称 | 浙江千喜车业有限公司 |
| 申请人地址 | 浙江省金华市永康市经济开发区九龙北路305号F1-F7幢 |
专利法律状态
2022-10-04
授权
状态信息
授权
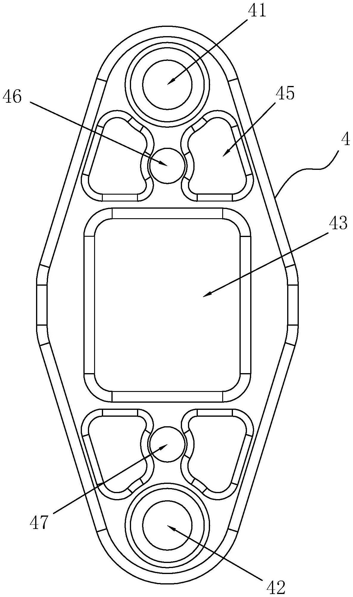
摘要
本实用新型提供了一种电动车悬架连接座及其悬架结构。其电动车悬架连接座的连接座本体的上端设有上轴孔,所述连接座本体的下端设有下轴孔,所述连接座本体的中部设有安装孔,所述连接座本体的两侧面设有贯穿的固定孔。其电动车悬架结构,包括上悬架、下悬架、对称的设于上悬架两侧的悬架连接板、上述电动车悬架连接座,所述悬架连接板的上端铰接于上悬架的端部,悬架连接板的下端铰接于下悬架的端部,所述上悬架的中部铰接于上轴孔,所述下悬架的中部铰接于下轴孔。本实用新型通过电动车悬架连接座,悬架可以整体跟车身进行连接,拆装方便,操作方便。


