授权公布号:CN217627482U
便携式家用升降台
有效
申请
2022-06-15
申请公布
1970-01-01
授权
2022-10-21
预估到期
2032-06-15
| 申请号 | CN202221492639.2 |
| 申请日 | 2022-06-15 |
| 授权公布号 | CN217627482U |
| 授权公告日 | 2022-10-21 |
| 分类号 | B66F11/04;B66F17/00 |
| 分类 | 卷扬;提升;牵引; |
| 申请人名称 | 浙江千喜车业有限公司 |
| 申请人地址 | 浙江省金华市永康市经济开发区科创路366号 |
专利法律状态
2022-10-21
授权
状态信息
授权
摘要
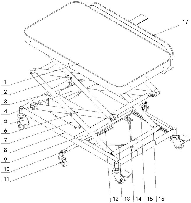
本实用新型公开了便携式家用升降台,包括工作台、上下交叉支架、底架、电动推杆,所述的底架上设有平衡支撑装置,平衡支撑装置包括安装在底架上的前后支撑杆滑槽、前后支撑杆、前后球头拉杆,前后支撑杆滑动设置在相对应的前后支撑杆滑槽上,前后支撑杆上分别安装有万向支撑轮,前后球头拉杆的一端对应连接在前后支撑杆上、另一端对应连接在连接杆的拉杆座上;当电动推杆通过上下交叉支架带动工作台升降时,下交叉支架的连接杆通过前后球头拉杆带动前后支撑杆伸缩。采用本结构后,具有结构简单合理、工作稳定性好、使用安全可靠、重量轻、生产成本低、移动收藏方便等优点。


