授权公布号:CN207229322U
汽车轮胎充气泵
有效
申请
2017-09-19
申请公布
1970-01-01
授权
2018-04-13
预估到期
2027-09-19
| 申请号 | CN201721202972.4 |
| 申请日 | 2017-09-19 |
| 授权公布号 | CN207229322U |
| 授权公告日 | 2018-04-13 |
| 分类号 | F04B27/08 |
| 分类 | 液体变容式机械;液体泵或弹性流体泵; |
| 申请人名称 | 宁波尤利特汽车用品股份有限公司 |
| 申请人地址 | 浙江省宁波市余姚市阳明街道丰南工业园区 |
专利法律状态
2018-04-13
授权
状态信息
授权
摘要
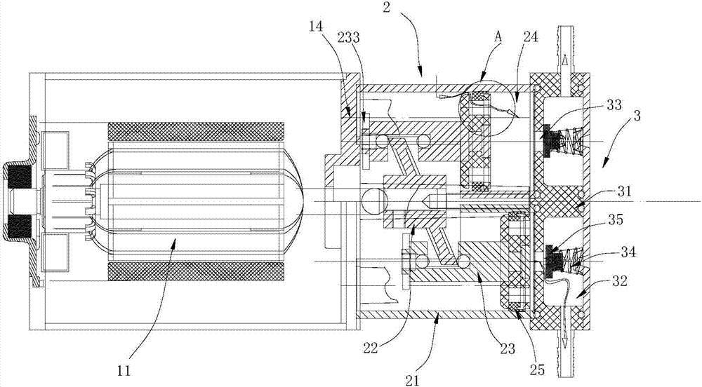
本实用新型涉及充气泵领域,汽车轮胎充气泵,包括电机,以及连接在电机上的气泵装置,以及连接在气泵装置上的气门装置;所述气泵装置包括连接在连接电机端盖上的缸体,以及活动设置在缸体内部内的活塞组件;所述活塞组件包括活塞,活塞与缸体端部之间构成压缩腔,气门装置与压缩腔之间通过气孔相通;当所述活塞处于复位行程中时,活塞环与其下方的活塞端面之间第二间隙,第一间隙、第二间隙和回流孔之间依次相通构成回流道;当所述活塞处于充气行程时,活塞环与其下方的活塞端面相抵,回流道被阻断。该汽车轮胎充气泵采用巧妙结构实现对压缩腔进行补气和封堵,相比于传统的充气泵结构,该吸气结构与活塞完全同频运动,且更加稳定、不易损坏。


