授权公布号:CN217538529U
一种新型网片式纱门纱窗的网片连接结构
有效
申请
2022-01-21
申请公布
1970-01-01
授权
2022-10-04
预估到期
2032-01-21
| 申请号 | CN202220168609.X |
| 申请日 | 2022-01-21 |
| 授权公布号 | CN217538529U |
| 授权公告日 | 2022-10-04 |
| 分类号 | E06B9/52 |
| 分类 | 一般门、窗、百叶窗或卷辊遮帘;梯子; |
| 申请人名称 | 石家庄强宁装饰工程有限公司 |
| 申请人地址 | 河北省石家庄市长安区居然建材市场6B-7-8-9 |
专利法律状态
2022-10-04
授权
状态信息
授权
摘要
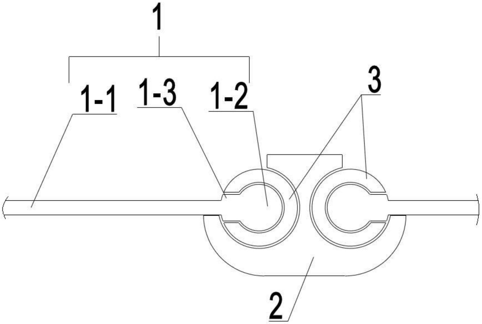
本实用新型涉及一种新型网片式纱门纱窗的网片连接结构,属于门窗技术领域。包括H型网片以及M杆连接条;M杆连接条具有铰接槽且在铰接槽内插装设置C型旋转轴套,H型网片包括片体以及一体设置在两端的连接柱;H型网片使用M杆连接条相连,H型网片的外端的连接柱插装在M杆连接条内的C型旋转轴套内;片体的两端设置凸出表面的凸台,所述凸台对应C型旋转轴套上的开槽。本实用新型通过在片体的两端设置凸出表面的凸台,能够使C型旋转轴套上的开槽可以加工的较大,便于加工,并且能够使H型网片同C型旋转轴套的连接更加稳定。


