授权公布号:CN219299125U
推拉门的门体长度调节结构
有效
申请
2021-08-09
申请公布
1970-01-01
授权
2023-07-04
预估到期
2031-08-09
| 申请号 | CN202121842682.2 |
| 申请日 | 2021-08-09 |
| 授权公布号 | CN219299125U |
| 授权公告日 | 2023-07-04 |
| 分类号 | E06B3/92 |
| 分类 | 一般门、窗、百叶窗或卷辊遮帘;梯子; |
| 申请人名称 | 石家庄强宁装饰工程有限公司 |
| 申请人地址 | 河北省石家庄市长安区居然建材市场6B-7-8-9 |
专利法律状态
2023-07-04
授权
状态信息
授权
摘要
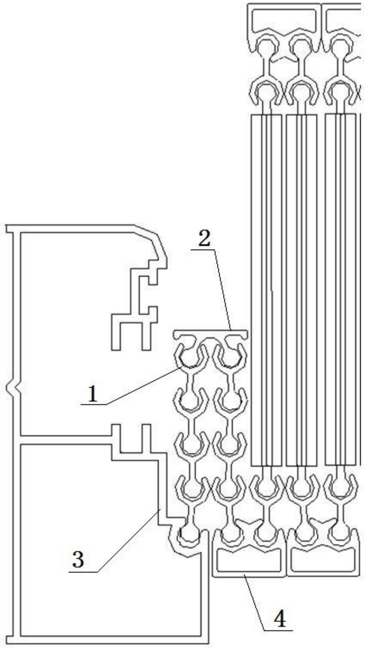
本实用新型涉及一种推拉门的门体长度调节结构,属于推拉门部件技术领域。推拉门的门体长度调节结构,包括若干组铰接相连的连接条,相邻组的连接条之间使用连接板相连;位于最外端组的连接条分别与门体铰接座和门框铰接连接;连接条包括一体成型的铰接连接柱和铰接连接槽;相邻的连接条的铰接连接柱插入到铰接连接槽内。本实用新型能够实现推拉门的门体长度的调节,适用于各种场合的门框,适用于不同长度的门框,适应性能良好。


