授权公布号:CN213251238U
一种中药煎制后液体防污染密封装置
有效
申请
2020-05-25
申请公布
1970-01-01
授权
2021-05-25
预估到期
2030-05-25
| 申请号 | CN202020886619.8 |
| 申请日 | 2020-05-25 |
| 授权公布号 | CN213251238U |
| 授权公告日 | 2021-05-25 |
| 分类号 | A61J1/10;B65B3/12;B65B3/00 |
| 分类 | 医学或兽医学;卫生学; |
| 申请人名称 | 吉林市鹿王制药股份有限公司 |
| 申请人地址 | 吉林省吉林市高新区深东路1116号 |
专利法律状态
2021-05-25
授权
状态信息
授权
摘要
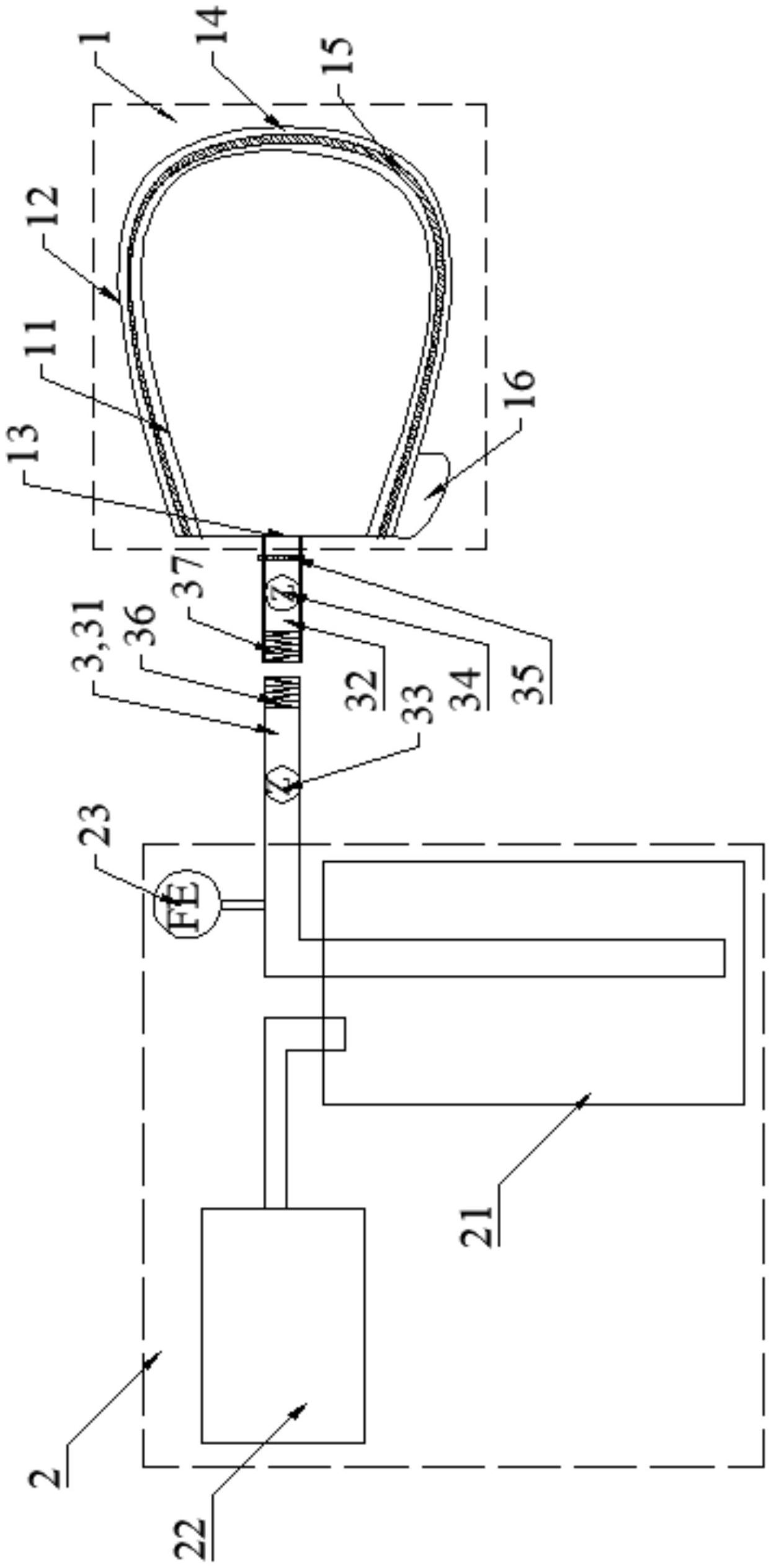
本实用新型属于中药技术领域,涉及一种中药煎制后液体防污染密封装置。该密封装置包括密封袋和转移装置,所述转移装置通过管道与密封袋连通,所述管道包括与转移装置出口连接的第一管道、与密封袋连通的第二管道,所述第一管道与第二管道活动连接;所述第一管道上设有第一闸阀,所述第二管道上设有第二闸阀;所述转移装置包括缓冲罐、压力泵,所述压力泵设置在缓冲罐上表面,所述第一管道与缓冲罐出口连通,所述第一管道上设有流量计;所述密封袋上包括内袋体、外袋体,所述内袋体和外袋体具有同一进液口,所述内袋体与外袋体间设有气泡层。该密封装置在中药煎制后转移、密封性能好,不会发生产品变质,使用便捷。


