授权公布号:CN219640631U
一种叠层撒酥装置
有效
申请
2023-02-13
申请公布
1970-01-01
授权
2023-09-05
预估到期
2033-02-13
| 申请号 | CN202320197982.2 |
| 申请日 | 2023-02-13 |
| 授权公布号 | CN219640631U |
| 授权公告日 | 2023-09-05 |
| 分类号 | F26B21/00;A21C9/04 |
| 分类 | 干燥; |
| 申请人名称 | 北京市美丹食品有限公司 |
| 申请人地址 | 北京市大兴区庞各庄镇工业区10排19号 |
专利法律状态
2023-09-05
授权
状态信息
授权
摘要
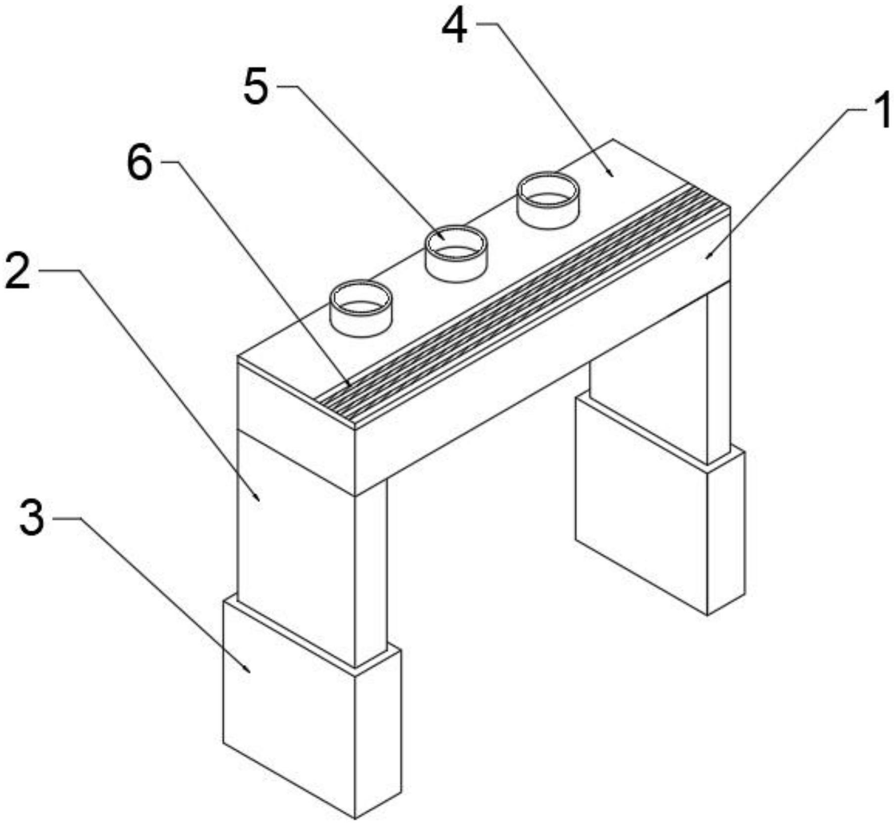
本实用新型提供一种叠层撒酥装置,涉及食品机械技术领域,包括工作台面,所述工作台面底部的两侧均设支撑座,两个所述支撑座的底部均设有固定桩,所述工作台面的顶部设有防护盖板,所述防护盖板的顶部且靠近背侧的一侧设有若干个进料口,所述防护盖板的顶部且靠近正面的一侧设有若干个防尘条,所述工作台面内部的中心处设有分隔板,所述分隔板的右侧设有连接杆,电磁阀门可根据计算机提前录入的数据分时打开,以达到精准撒酥,导风板可以将换风扇所吹出的风集中到面皮上,可避免了在堆叠机完成工作后,将面皮运输至下一个工序时,通常需要人工在堆叠机的末端进行撒酥,这种方式长时间下来不仅效率低,还十分劳累的问题。


