授权公布号:CN107062911B
一种用于不锈钢生产的加热炉内悬臂辊
有效
申请
2017-04-28
申请公布
2017-08-18
授权
2019-06-25
预估到期
2037-04-28
| 申请号 | CN201710295151.8 |
| 申请日 | 2017-04-28 |
| 申请公布号 | CN107062911A |
| 申请公布日 | 2017-08-18 |
| 授权公布号 | CN107062911B |
| 授权公告日 | 2019-06-25 |
| 分类号 | F27D3/00 |
| 分类 | 炉;窑;烘烤炉;蒸馏炉〔4〕; |
| 申请人名称 | 福建吴航不锈钢制品有限公司 |
| 申请人地址 | 福建省福州市长乐市营前镇岐头村 |
专利法律状态
2019-06-25
授权
状态信息
授权
2018-09-21
实质审查的生效
状态信息
实质审查的生效;IPC(主分类):F27D3/00;申请日:20170428
2017-08-18
公布
状态信息
公布
摘要
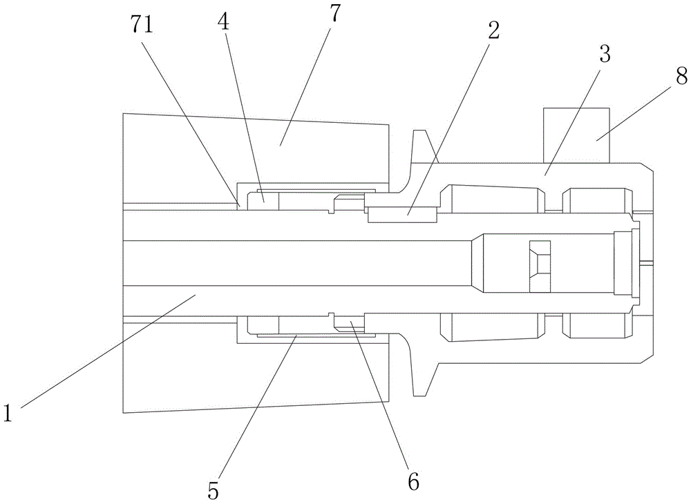
本发明公开了一种用于不锈钢生产的加热炉内悬臂辊,包括辊轴,所述辊轴穿设于悬臂辊辊径砖形成的阶梯孔内;所述辊轴的右端延伸至悬臂辊辊径砖的外侧;所述辊轴上螺纹连接有圆螺母;所述圆螺母位于阶梯孔内;所述辊轴的右端通过平键连接有悬臂辊;所述悬臂辊和圆螺母相焊接成一体;所述辊轴上焊接有挡环;所述挡环位于圆螺母的左侧;所述挡环和圆螺母的外侧套设有隔离套;所述隔离套和挡环之间通过点焊连接;所述隔离套位于阶梯孔内。本发明结构简单,操作方便,使用寿命长,节约成本。


