授权公布号:CN218295914U
一种油烟抽排净化装置
有效
申请
2022-09-30
申请公布
1970-01-01
授权
2023-01-13
预估到期
2032-09-30
| 申请号 | CN202222627088.2 |
| 申请日 | 2022-09-30 |
| 授权公布号 | CN218295914U |
| 授权公告日 | 2023-01-13 |
| 分类号 | F24C15/20;B01D3/14;B01D46/24;B01D46/42;B08B3/02 |
| 分类 | 供热;炉灶;通风; |
| 申请人名称 | 四川丁点儿食品开发股份有限公司 |
| 申请人地址 | 四川省成都市郫都区安德镇中国川菜产业化功能区蜀香路388号 |
专利法律状态
2023-01-13
授权
状态信息
授权
摘要
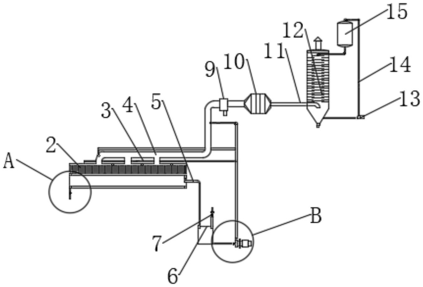
本实用新型公开了本实用新型涉及油烟技术领域,且公开了一种油烟抽排净化装置,包括油烟罩,所述油烟罩的顶部设有排油烟道,所述排油烟道的一端固定连接有消音除尘装置,所述消音除尘装置的一端固定连接有连接烟道,所述除油烟液循环管道的一端设有储罐,所述除油烟液循环管道的一端贯穿储罐的内壁。通过在除油烟发生器中用除油烟液循环泵将除油烟液在精馏塔板中的呈细水滴状吸附作用,将油烟中的有害成分全部吸附的作用,通过在排油烟道及油烟罩合理位置分配一定数量的旋转清洗喷头,将清洗液定期喷涂在这些位置,达到将排油烟道及油烟罩清洗干净目的,从而节约人工、降低废气排放、环保,改善生产环境,提升生产效率。


