授权公布号:CN219072637U
一种带渣油类调味料防沉淀灌装装置
有效
申请
2022-09-20
申请公布
1970-01-01
授权
2023-05-26
预估到期
2032-09-20
| 申请号 | CN202222491211.2 |
| 申请日 | 2022-09-20 |
| 授权公布号 | CN219072637U |
| 授权公告日 | 2023-05-26 |
| 分类号 | B01F27/61;B01F27/72;B01F25/51;B65B3/04;B01F101/06N |
| 分类 | 一般的物理或化学的方法或装置; |
| 申请人名称 | 四川丁点儿食品开发股份有限公司 |
| 申请人地址 | 四川省成都市郫都区安德镇中国川菜产业化功能区蜀香路388号 |
专利法律状态
2023-05-26
授权
状态信息
授权
摘要
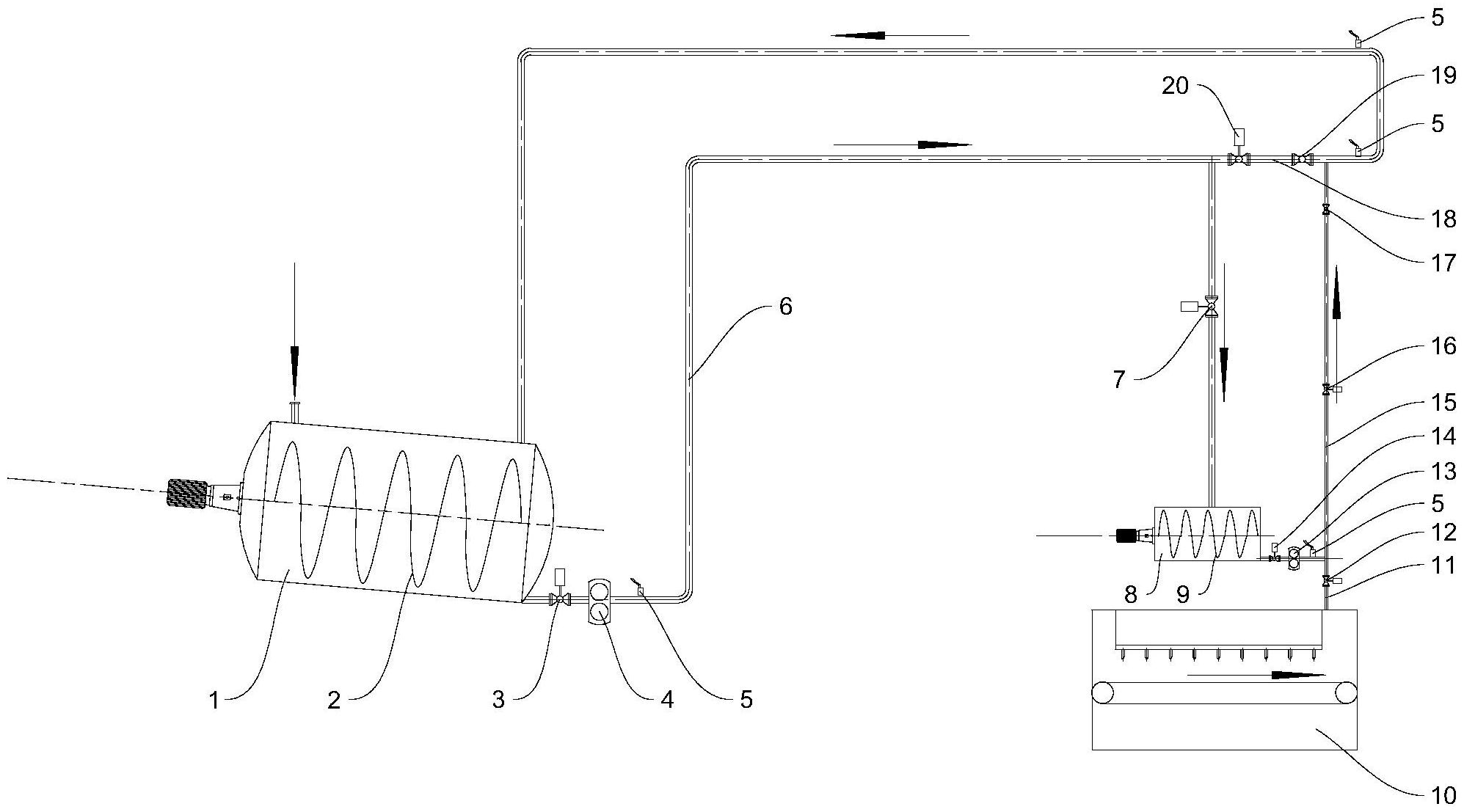
本申请涉及灌装技术领域,公开了一种带渣油类调味料防沉淀灌装装置,包括原料储罐、灌装储罐、输料管路和灌装机;原料储罐之中设置有第一搅拌机构,原料储罐的出料口设有第一阀门和循环转子泵;灌装储罐之中设置有第二搅拌机构,灌装储罐的出料口设有第二阀门和出料泵;输料管路一端与原料储罐的出料口连接,输料管路另一端与灌装储罐的进料口连接;灌装机的进料口与灌装储罐的出料口通过出料管路连接,出料管路上设有第三阀门。本申请解决了现有带渣油类调味料在灌装时,存在产品油液与油渣百分比含量不均,影响产品质量的问题。


