授权公布号:CN215270451U
一种薯片生产用烘焙装置
有效
申请
2021-03-31
申请公布
1970-01-01
授权
2021-12-24
预估到期
2031-03-31
| 申请号 | CN202120646820.3 |
| 申请日 | 2021-03-31 |
| 授权公布号 | CN215270451U |
| 授权公告日 | 2021-12-24 |
| 分类号 | A23L19/18 |
| 分类 | 其他类不包含的食品或食料;及其处理; |
| 申请人名称 | 天津凯涛奇食品有限公司 |
| 申请人地址 | 天津市武清区天津新技术产业园区武清开发区开源道90号 |
专利法律状态
2021-12-24
授权
状态信息
授权
摘要
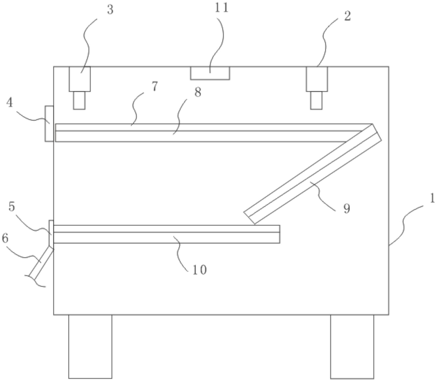
本实用新型涉及薯片生产技术领域,尤其涉及一种薯片生产用烘焙装置,其包括输送装置、烘焙箱及烘焙机构,烘焙箱前端上部设有进料口,前端下部设有出料口,输送装置包括上层输送带、下层输送带及中间输送带,上层输送带、下层输送带及中间输送带均为不锈钢网带,烘焙箱内安装有第一涂油装置、第二涂油装置,上层输送带由前端向后端运行,下层输送带由后端向前端运行,中间输送带连接于上层输送带与下层输送带之间且由后端向前端倾斜,上层输送带、下层输送带及上中间输送带上分别安装有相互对应的多组隔板,出料口处固定安装有溜槽。本实用新型提供的装置结构简单,占地面积小,能够自动翻面且薯片不会碎。


