授权公布号:CN216636867U
一种灌装机
有效
申请
2021-12-27
申请公布
1970-01-01
授权
2022-05-31
预估到期
2031-12-27
| 申请号 | CN202123346493.9 |
| 申请日 | 2021-12-27 |
| 授权公布号 | CN216636867U |
| 授权公告日 | 2022-05-31 |
| 分类号 | B65B1/04;B65B63/00;B02C13/14;B02C13/26;B65D25/54 |
| 分类 | 输送;包装;贮存;搬运薄的或细丝状材料; |
| 申请人名称 | 广东百味佳味业科技股份有限公司 |
| 申请人地址 | 广东省东莞市寮步镇华南工业城松西路3号 |
专利法律状态
2022-05-31
授权
状态信息
授权
摘要
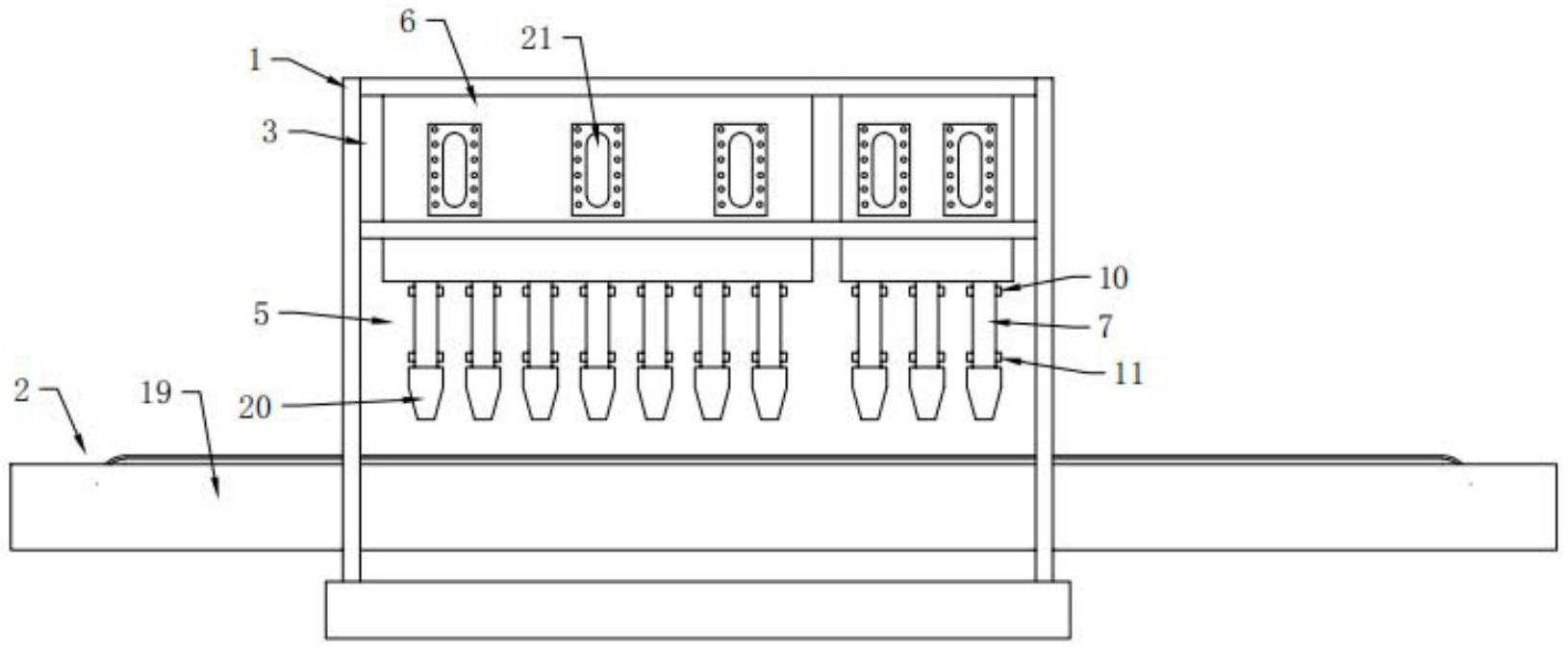
本实用新型涉及灌装设备领域,尤其是指一种灌装机,其包括架体、运输装置、灌装装置,防凝固装置和定量装置,运输装置设置在架体内,灌装装置包括若干个储料盘,储料盘设置有若干个灌装管,定量装置包括第一阻断片、第二阻断片、第一连接架、第二连接架和驱动器,灌装管的壁上设置有第一通孔和第二通孔,第一阻断片可滑动地设置在第一通孔处,第二阻断片可滑动地设置在第二通孔处,驱动器驱动第一阻断片和第二阻断片移动,防凝固装置包括若干个搅拌杆,搅拌杆设置在储料盘内,第一阻断片和第二阻断片的一端设置有若干个打散片;本实用新型能够自动化地实现物料的定量灌装,灌装稳定性好,且通过搅拌杆和打散片对物料进行搅拌和打散后再灌装,避免物料出现凝固、结块等问题,进一步提高了定量灌装的质量和准确性。


