授权公布号:CN218058929U
一种茉莉花精油真空提取装置
有效
申请
2022-05-16
申请公布
1970-01-01
授权
2022-12-16
预估到期
2032-05-16
| 申请号 | CN202221159062.3 |
| 申请日 | 2022-05-16 |
| 授权公布号 | CN218058929U |
| 授权公告日 | 2022-12-16 |
| 分类号 | C11B9/02 |
| 分类 | 动物或植物油、脂、脂肪物质或蜡;由此制取的脂肪酸;洗涤剂;蜡烛; |
| 申请人名称 | 闽榕茶业有限公司 |
| 申请人地址 | 福建省福州市仓山区城门镇胪雷村 |
专利法律状态
2022-12-16
授权
状态信息
授权
摘要
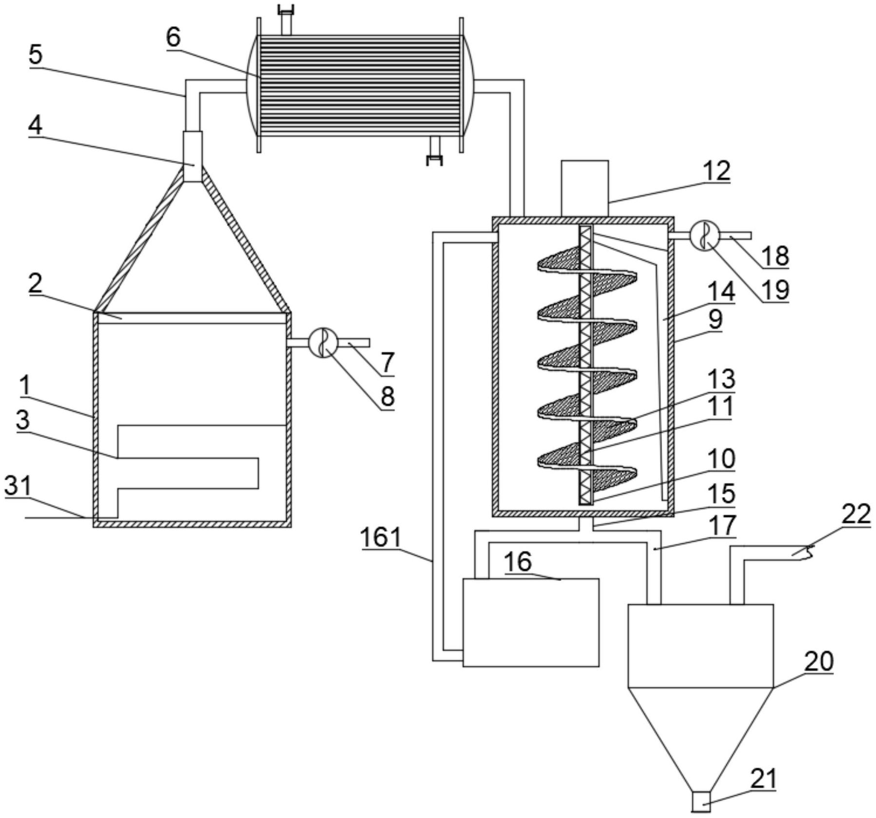
本实用新型涉及一种茉莉花精油真空提取装置,特别涉及茉莉花精油生产设备技术领域。本实用新型包括提取罐、冷凝管、制冷器、第一抽真空泵、油水分离罐、第二抽真空泵、离心机,水油混合液进入到油水分离罐中,启动驱动电机带动搅拌叶片实现对混合液的搅拌,接着通过第二抽真空泵对油水分离罐抽真空,电热丝对油水分离罐内加热,从而加快了油和水的分离速度,进而提高了油水分离的效率,分离完毕之后,下层的水层进入到暂存箱暂存,油层进入到离心机内进一步油水分离,保证油水分离的彻底性,提高精油品质。暂存箱内的水层通过输送泵继续输送至油水分离罐内进一步分离,再次提高了油水分离的彻底性。


