授权公布号:CN218502615U
一种茉莉花加工用筛选设备
有效
申请
2022-07-25
申请公布
1970-01-01
授权
2023-02-21
预估到期
2032-07-25
| 申请号 | CN202221921051.4 |
| 申请日 | 2022-07-25 |
| 授权公布号 | CN218502615U |
| 授权公告日 | 2023-02-21 |
| 分类号 | B07B1/28;B07B1/46;F26B21/00;B65B35/12;B01D46/10;B01D46/88 |
| 分类 | 将固体从固体中分离;分选; |
| 申请人名称 | 闽榕茶业有限公司 |
| 申请人地址 | 福建省福州市仓山区城门镇胪雷村 |
专利法律状态
2023-02-21
授权
状态信息
授权
摘要
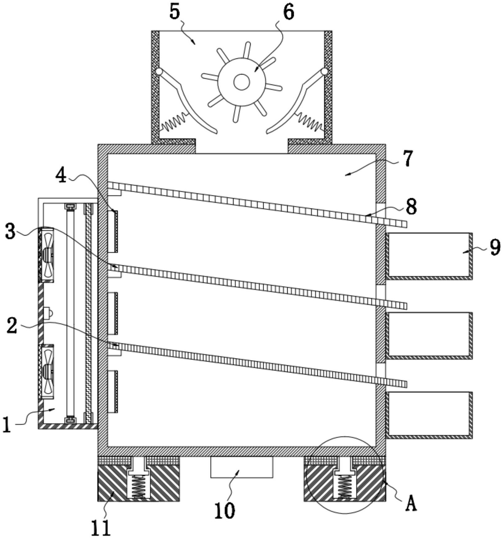
本实用新型公开了一种茉莉花加工用筛选设备,包括烘干箱、进料口、筛选设备主体和第一筛网,筛选设备主体底部的四个拐角处均设置有支座,且支座内部的中央位置处均通过复位弹簧设置有压块,压块的顶端均与筛选设备主体的底部固定连接,且筛选设备主体底部的中央位置处设置有振动电机,筛选设备主体的内部依次设置有第一筛网、第二筛网和第三筛网,筛选设备主体的顶端设置有进料口,且筛选设备主体的一侧设置有烘干箱。本实用新型通过安装有筛选设备主体、烘干箱、风扇、出风口、加热电阻丝以及温度传感器,将茉莉花原料进行干燥,避免潮湿的茉莉花原料发生黏着的现象,提高筛选的效率。


