授权公布号:CN218058930U
一种自动补水茉莉花露提取设备
有效
申请
2022-07-25
申请公布
1970-01-01
授权
2022-12-16
预估到期
2032-07-25
| 申请号 | CN202221924488.3 |
| 申请日 | 2022-07-25 |
| 授权公布号 | CN218058930U |
| 授权公告日 | 2022-12-16 |
| 分类号 | C11B9/02 |
| 分类 | 动物或植物油、脂、脂肪物质或蜡;由此制取的脂肪酸;洗涤剂;蜡烛; |
| 申请人名称 | 闽榕茶业有限公司 |
| 申请人地址 | 福建省福州市仓山区城门镇胪雷村 |
专利法律状态
2022-12-16
授权
状态信息
授权
摘要
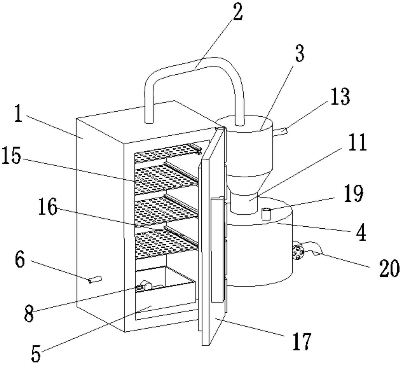
本实用新型公开了一种自动补水茉莉花露提取设备,包括用于加热茉莉花的加热箱、用于将蒸汽排出的出气管、安装在出气管上的冷凝器、固定在冷凝器下端的花露收集箱和固定在加热箱底板用于产生蒸汽的蒸汽池、安装在加热箱上用于向蒸汽池内补水的补水管、固定在补水管上用于控制补水管启闭的补水开关和安装在补水开关上用于控制补水开关启闭的浮漂。


