授权公布号:CN216509340U
一种振动式竖饼整理装置
有效
申请
2021-11-01
申请公布
1970-01-01
授权
2022-05-13
预估到期
2031-11-01
| 申请号 | CN202122645911.8 |
| 申请日 | 2021-11-01 |
| 授权公布号 | CN216509340U |
| 授权公告日 | 2022-05-13 |
| 分类号 | B65B23/14 |
| 分类 | 输送;包装;贮存;搬运薄的或细丝状材料; |
| 申请人名称 | 广东嘉士利食品集团有限公司 |
| 申请人地址 | 广东省江门市开平市长沙港口路18号 |
专利法律状态
2022-05-13
授权
状态信息
授权
摘要
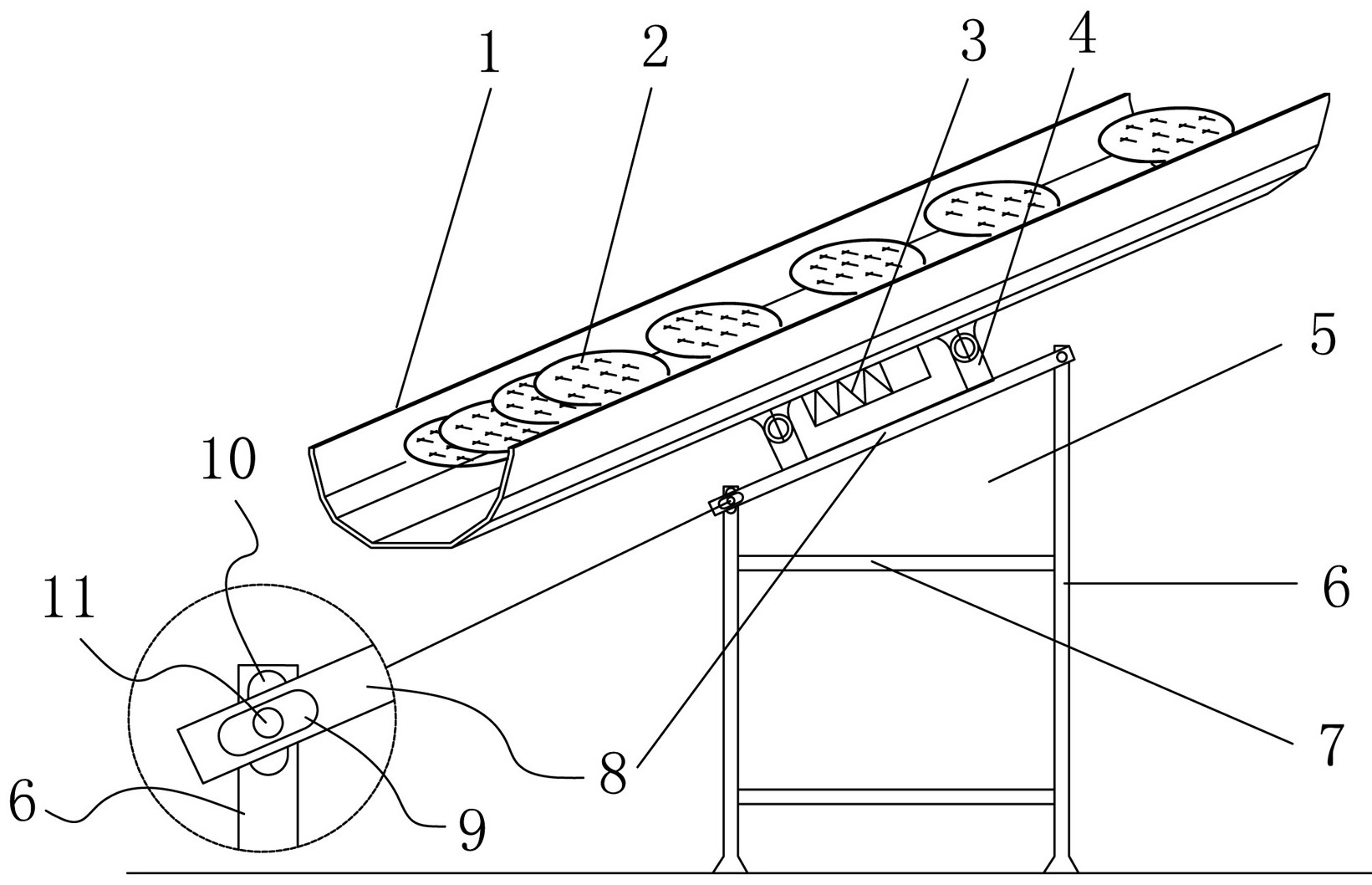
本实用新型涉及饼干生产装置,公开一种振动式竖饼整理装置,包括:倾斜状态的U型槽,该U型槽的内径大于饼干的直径,并使饼干以直径两端悬挂于U型槽内,U型槽还设置了使之振动的振动器。本实用新型构造简单,制造价格便宜,可解决了圆形饼干水平方向高速输送转换成竖直方向紧密叠起慢速输送导致的部分饼干被打散或打乱正反面,影响包装效果的问题,实现竖饼整理效果,从而使生产人员容易抓取饼干进行包装工作,大大提高生产效率。


