授权公布号:CN220390850U
一种自动旋转的光伏摩天轮摆件
有效
申请
2023-06-14
申请公布
1970-01-01
授权
2024-01-26
预估到期
2033-06-14
| 申请号 | CN202321510394.6 |
| 申请日 | 2023-06-14 |
| 授权公布号 | CN220390850U |
| 授权公告日 | 2024-01-26 |
| 分类号 | B44C5/00 |
| 分类 | 装饰艺术; |
| 申请人名称 | 国电南京自动化股份有限公司 |
| 申请人地址 | 江苏省南京市江宁开发区水阁路39号 |
专利法律状态
2024-01-26
授权
状态信息
授权
摘要
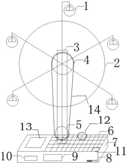
本实用新型公开了一种自动旋转的光伏摩天轮摆件,包括底座、支架、旋转体和座舱,所述旋转体转动安装在支架上,所述座舱设置在旋转体上,还包括有驱动部件,驱动组件安装在底座上,并与所述旋转体连接,以驱使其旋转;及光伏组件,此自动旋转的光伏摩天轮摆件,通过驱动部件与光伏组件的设计,使得能够在利用太阳能进行驱动旋转的前提下,配合蓄电池的使用能够将多余电量进行存储,这样在光线不足的情况下,可利用光感部件感光并触发驱动部件利用蓄电池存储的电量进行驱动,进而使其在利用太阳能而节省能源的前提下,当光线不足时也能够保证其摆件稳定旋转。


