授权公布号:CN204534330U
一款面板与灯体分离式地面疏散标志灯
有效
申请
2015-02-12
申请公布
1970-01-01
授权
2015-08-05
预估到期
2025-02-12
| 申请号 | CN201520101373.8 |
| 申请日 | 2015-02-12 |
| 授权公布号 | CN204534330U |
| 授权公告日 | 2015-08-05 |
| 分类号 | F21S8/02;F21V17/12 |
| 分类 | 照明; |
| 申请人名称 | 沈阳宏宇光电子科技有限公司 |
| 申请人地址 | 辽宁省沈阳市浑南新区世纪路19号8层 |
专利法律状态
2015-08-05
授权
状态信息
授权
摘要
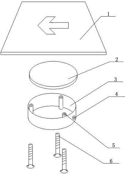
本实用新型公开了一款面板与灯体分离式地面疏散标志灯,它包括有标志符号的透明面板和有光源的灯体,所述灯体是由透明密封盖、光源及电路盒、横向平面纵向标高调整螺丝组成;所述光源及电路盒内壁上均匀设置有用于固定调整螺丝的螺丝套筒,所述光源及电路盒上盖有密封盖,所述光源及电路盒上还设置有出线孔。本实用新型的特点在于:1、灯体不承受任何压力,所以灯体及配套的预埋盒制作材料成本低;2、面板的安装方便,很容易达到与地面的装修面平齐,美观;3、面板地面的装修面很容易实现密封,可防止因灯体浸水而损坏。


