授权公布号:CN211553832U
一种阻燃塑木复合材料制备用检测装置
有效
申请
2019-07-11
申请公布
1970-01-01
授权
2020-09-22
预估到期
2029-07-11
| 申请号 | CN201921078780.6 |
| 申请日 | 2019-07-11 |
| 授权公布号 | CN211553832U |
| 授权公告日 | 2020-09-22 |
| 分类号 | G01N25/22 |
| 分类 | 测量;测试; |
| 申请人名称 | 南京聚锋新材料有限公司 |
| 申请人地址 | 江苏省南京市江北新区创业路6号 |
专利法律状态
2020-10-30
专利申请权、专利权的转移
状态信息
专利权的转移;IPC(主分类):G01N25/22;登记生效日:20201019;变更事项:专利权人;变更前:南京聚锋新材料有限公司;变更后:南京聚锋新材料有限公司;变更事项:地址;变更前:210000 江苏省南京市江北新区创业路6号;变更后:210000 江苏省南京市江北新区创业路6号;变更事项:专利权人;变更后:南京聚隆科技股份有限公司
2020-09-22
授权
状态信息
授权
摘要
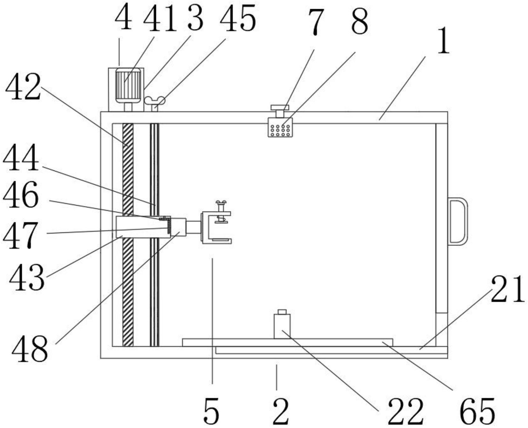
本实用新型公开了一种阻燃塑木复合材料制备用检测装置,包括主体箱,主体箱的内壁底端设有喷火机构,主体箱的外壁顶端一侧固定连接有电机架,主体箱的内壁一侧设有定位机构,定位机构位于电机架的正下方,定位机构上设有夹持机构,主体箱的内壁顶端中央固定连接有喷淋头,喷淋头上方设有进水口,该阻燃塑木复合材料制备用检测装置,通过定单位机构,在减速电机的作用下,可使检测材料上升或者下降,操作简单,使用耐火检测更为安全,通过计时器、温度传感器、显示屏可以精确测量燃烧和熄灭时间和燃烧温度,精确度更高,通过观察窗观察有没有任何的掉落物,也就是说它燃烧时不会产生任何的新的火源。


