授权公布号:CN208070133U
一种新型灌装机用灌注漏斗
有效
申请
2018-03-27
申请公布
1970-01-01
授权
2018-11-09
预估到期
2028-03-27
| 申请号 | CN201820420284.3 |
| 申请日 | 2018-03-27 |
| 授权公布号 | CN208070133U |
| 授权公告日 | 2018-11-09 |
| 分类号 | B65B39/02;B67C3/26 |
| 分类 | 输送;包装;贮存;搬运薄的或细丝状材料; |
| 申请人名称 | 药大制药有限公司 |
| 申请人地址 | 江苏省南京市鼓楼区中央路马家街50号 |
专利法律状态
2019-02-19
专利权人的姓名或者名称、地址的变更
状态信息
专利权人的姓名或者名称、地址的变更IPC(主分类):B65B 39/02变更前 专利权人:中国药科大学制药有限公司 地址:210000 江苏省南京市鼓楼区中央路马家街50号变更后 专利权人:药大制药有限公司 地址:210000 江苏省南京市鼓楼区中央路马家街50号
2018-11-09
授权
状态信息
授权
摘要
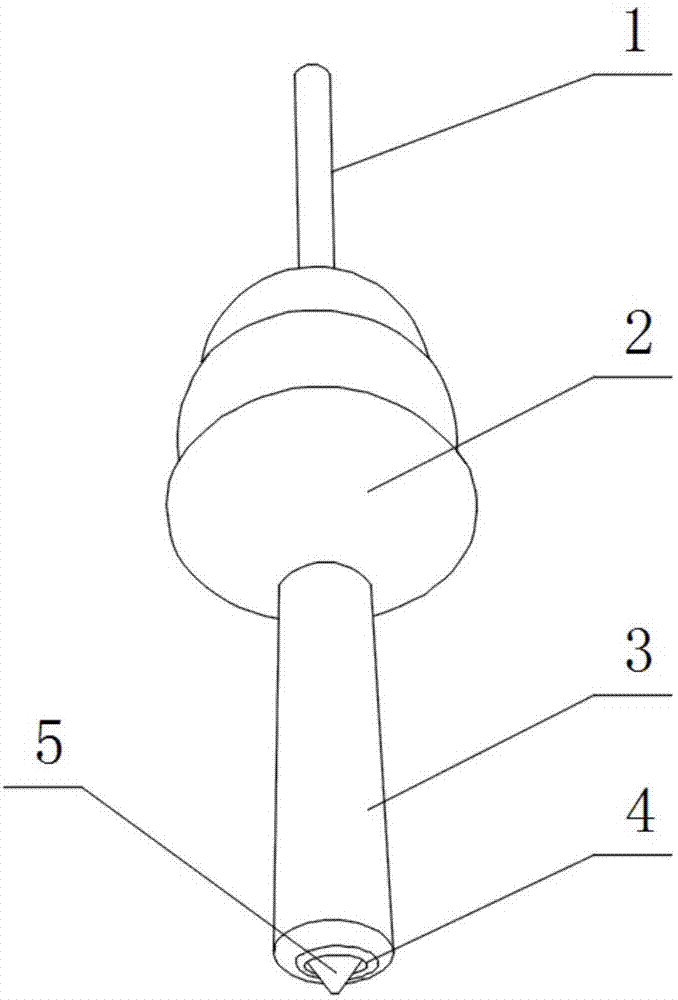
本实用新型公开了一种新型灌装机用灌注漏斗,包括连接管、漏斗、套筒,所述连接管和所述套筒为圆柱状结构,所述连接管、漏斗和套筒互为连通,所述套筒底部设有口径渐收结构的窄口,所述窄口设有灌注头,所述灌注头由固定端和灌注端构成;相较于传统的灌装机用灌注漏斗,本实用新型摒弃平口结构的出料口,采用口径渐收结构的窄口,同时在窄口的口径内设置了针状头的锥形结构的灌注头,大大减少了灌注料液和灌注头接触的面积,保证了灌装产品的品质和工艺,本实用新型结构简单,操作方便,提高了灌装的工作效率和经济效益,值得推广。


