授权公布号:CN215494269U
一种蝶形铠装光缆
有效
申请
2021-08-17
申请公布
1970-01-01
授权
2022-01-11
预估到期
2031-08-17
| 申请号 | CN202121920217.6 |
| 申请日 | 2021-08-17 |
| 授权公布号 | CN215494269U |
| 授权公告日 | 2022-01-11 |
| 分类号 | G02B6/44 |
| 分类 | 光学; |
| 申请人名称 | 江苏欣达通信科技股份有限公司 |
| 申请人地址 | 江苏省苏州市吴江区七都镇创立路 |
专利法律状态
2022-01-11
授权
状态信息
授权
摘要
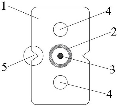
本实用新型公开了一种蝶形铠装光缆,包括护套,其截面为长方形,其中心设有一个第一安装腔且在第一安装腔的两侧分别设有一个第二安装腔;金属铠装层穿设于第一安装腔内且金属铠装层内设有第三安装腔;着色光纤穿设于第三安装腔内;两个加强件一一对应设于两个第二安装腔内且加强件的外壁与第二安装腔的内壁贴合;两个缺口分别设于金属铠装层两侧的护套侧表面;以长方形护套的长边的延长线所在方向为纵向、短边的延长线所在方向为横向,两个第二安装腔位于第一安装腔的纵向两侧,两个缺口位于金属铠装层的横向两侧。该蝶形铠装光缆具有更好的抗拉抗侧压强度。结构简单,只需向外拉开缺口两侧的护套,使得护套内的金属铠装层暴露即可,使用方便。


