授权公布号:CN216956468U
一种用于入户光猫连接的皮线光纤跳线
有效
申请
2022-04-15
申请公布
1970-01-01
授权
2022-07-12
预估到期
2032-04-15
| 申请号 | CN202220869481.X |
| 申请日 | 2022-04-15 |
| 授权公布号 | CN216956468U |
| 授权公告日 | 2022-07-12 |
| 分类号 | G02B6/44;G02B6/38 |
| 分类 | 光学; |
| 申请人名称 | 江苏欣达通信科技股份有限公司 |
| 申请人地址 | 江苏省苏州市吴江区七都镇创立路 |
专利法律状态
2022-07-12
授权
状态信息
授权
摘要
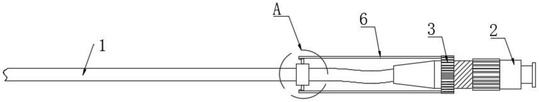
本申请公开了一种用于入户光猫连接的皮线光纤跳线,涉及网络光纤技术领域,包括跳线本体,跳线本体的一端固定设置有连接端口,连接端口的外壁螺纹连接有内螺纹连接环,内螺纹连接环远离连接端口的一侧对称滑动设置有调节杆,两个调节杆相对一侧远离连接端口的一端固定设置有按压珠,跳线本体外壁与按压珠相对应的位置处阻尼滑动设置有定位环,定位环的顶部与底部均开设有安装通槽。本申请可以通过定位组件对光纤上的非连接端口处进行定位,使光纤遭受外力拉扯时,定位处受到拉扯力的作用,从而减小此时连接端口处的受力,进而减小遭受外力时光纤的连接端口从光猫的端口上脱落下来的概率,保障光猫的正常使用。


