授权公布号:CN217085355U
一种用于光交箱的光纤跳线
有效
申请
2022-04-22
申请公布
1970-01-01
授权
2022-07-29
预估到期
2032-04-22
| 申请号 | CN202220943605.4 |
| 申请日 | 2022-04-22 |
| 授权公布号 | CN217085355U |
| 授权公告日 | 2022-07-29 |
| 分类号 | G02B6/44;G02B6/38;B08B17/02 |
| 分类 | 光学; |
| 申请人名称 | 江苏欣达通信科技股份有限公司 |
| 申请人地址 | 江苏省苏州市吴江区七都镇创立路 |
专利法律状态
2022-07-29
授权
状态信息
授权
摘要
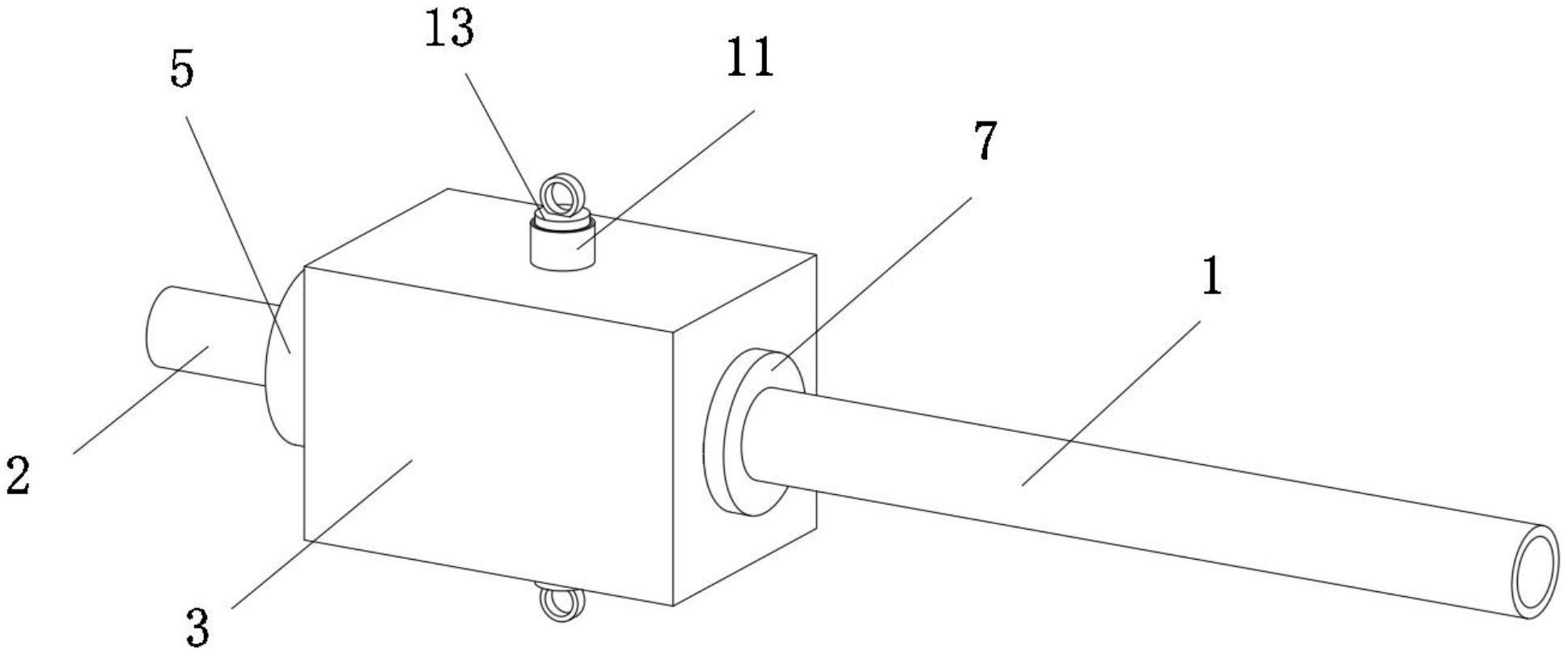
本申请公开了一种用于光交箱的光纤跳线,涉及通讯设备技术领域,包括光纤线缆、连接插针和端子盒,所述光纤线缆一端固定连接有连接筒,所述端子盒一端中心固定连接有缓冲垫,所述端子盒远离所述缓冲垫一端设有插接槽,所述光纤线缆靠近所述连接筒一端周侧固定连接有光缆护套,所述光缆护套远离所述连接筒一端固定连接有防尘挡板。本申请,通过弹簧的弹力作用,锁定筒和锁定插杆分别插入到第一插槽和第二插槽内,使光纤线缆和连接插针与端子盒固定在一起,方便连接插针与设备连接;需要拆卸端子盒时,同时拉动两个拉环,使锁定筒和锁定插杆分别从第一插槽和第二插槽内滑出,方便取下端子盒。


