授权公布号:CN218866163U
一种带RFID的SC型光纤活动连接器插头
有效
申请
2022-12-28
申请公布
1970-01-01
授权
2023-04-14
预估到期
2032-12-28
| 申请号 | CN202223524069.3 |
| 申请日 | 2022-12-28 |
| 授权公布号 | CN218866163U |
| 授权公告日 | 2023-04-14 |
| 分类号 | G02B6/38 |
| 分类 | 光学; |
| 申请人名称 | 江苏欣达通信科技股份有限公司 |
| 申请人地址 | 江苏省苏州市吴江区七都镇创立路 |
专利法律状态
2023-04-14
授权
状态信息
授权
摘要
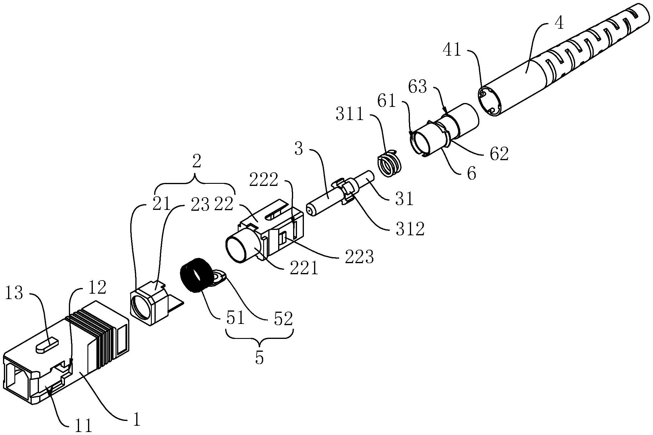
本申请涉及一种带RFID的SC型光纤活动连接器插头,涉及连接器插头技术领域。其包括外框套、内衬套、插芯和尾套,所述内衬套插设入外框套内部,所述插芯与内衬套相连并穿过外框套,所述尾套设置于内衬套背离外框套的一端,所述内衬套内设置有RFID标签,所述RFID标签用于对连接器的相关信息进行写入和存储,所述RFID标签包括RFID天线和RFID芯片,所述RFID天线与RFID芯片电连接,所述RFID天线的法线方向与插芯的轴向方向一致。本申请具有赋予SC型光纤活动连接器插头写入并存储连接器的相关信息的功能,改善现有的连接器插头功能单一的问题,扩大连接器插头使用范围的效果。


