授权公布号:CN215168718U
一种移动式栅栏
有效
申请
2021-05-19
申请公布
1970-01-01
授权
2021-12-14
预估到期
2031-05-19
| 申请号 | CN202121069767.1 |
| 申请日 | 2021-05-19 |
| 授权公布号 | CN215168718U |
| 授权公告日 | 2021-12-14 |
| 分类号 | E04H17/14;E04H17/20;E04H17/22;E01F15/10 |
| 分类 | 建筑物; |
| 申请人名称 | 四川金城栅栏工程有限公司 |
| 申请人地址 | 四川省成都市新都区石板滩镇卫星城区石木工业片区 |
专利法律状态
2021-12-14
授权
状态信息
授权
摘要
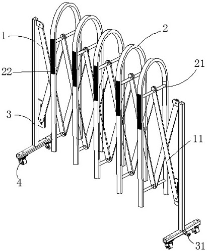
本实用新型涉及一种移动式栅栏,包括栅栏本体,支撑架,T型架与刹车轮,栅栏本体是由若干金属条交叉铰接组成,支撑架呈U型,若干支撑架间隔安装在金属条的铰接处,T型架设置在栅栏本体的两端,所述T型架底部安装有刹车轮,位于所述栅栏本体前端的所述T型架上设置弹簧锁,位于所述栅栏本体后端的所述T型架上设置有插套。本实用新型设计的栅栏本体采用金属条铰接组成可伸缩结构,在栅栏本体两端设置T型架用于安装刹车轮,便于使用人员在地面上移动栅栏,无需使用小车等运载工具,更加便捷;在T型架前后两端分别设置弹簧锁与插套,便于将若干栅栏连成一体用于隔离,移动搬迁时,再进行拆分,操作起来简单方便。


