授权公布号:CN219026087U
一种管材切割系统
有效
申请
2022-11-04
申请公布
1970-01-01
授权
2023-05-16
预估到期
2032-11-04
| 申请号 | CN202222945691.5 |
| 申请日 | 2022-11-04 |
| 授权公布号 | CN219026087U |
| 授权公告日 | 2023-05-16 |
| 分类号 | B23D21/00;B23D33/02 |
| 分类 | 机床;不包含在其他类目中的金属加工; |
| 申请人名称 | 四川金城栅栏工程有限公司 |
| 申请人地址 | 四川省成都市新都区石板滩镇卫星城区石木工业片区 |
专利法律状态
2023-05-16
授权
状态信息
授权
摘要
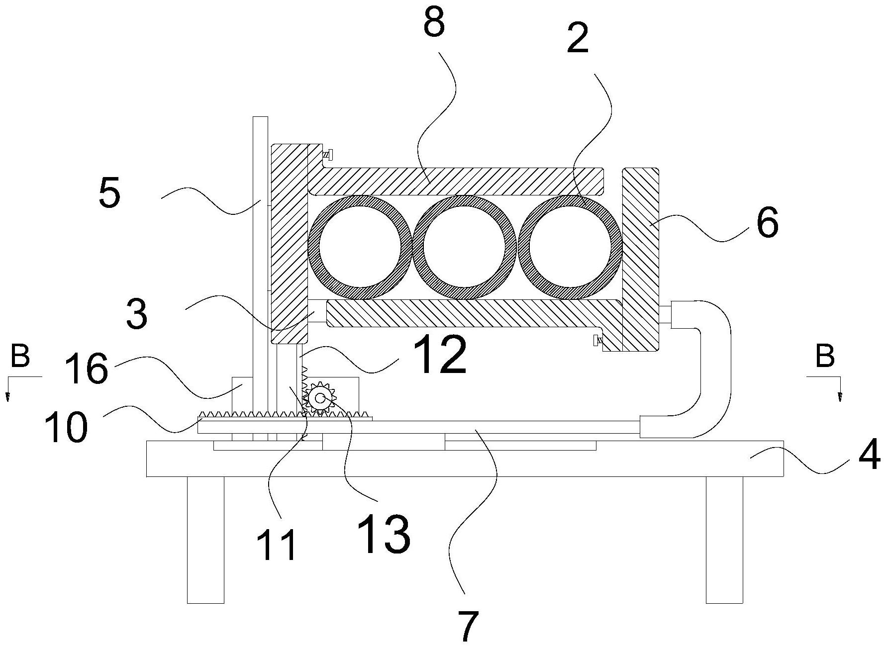
本实用新型涉及一种管材切割系统,包括头尾相对的两条用于输送管材的传送带,传送带之间设置有切割刀具,且传送带还设置有用于夹紧传送带上的管材的夹紧机构:夹紧机构包括L形的第一夹板和第二夹板,且第一夹板能够在驱动机构的驱动下沿横向靠近或远离第二夹板,第二夹板能够在驱动机构的驱动下沿纵向靠近或远离第一夹板,以在第一夹板和第二夹板合拢时,形成“口”字形的夹持腔。“口”字形的夹持腔能够从四个方向对管材进行夹持固定,使得管材的稳定性更好。同时该设置方式能够满足对不同数量的管材、不同管径的管材进行夹持操作,以适应更多的使用场景,在提高了切割速度的同时,还能防止管材在传送带上移动,出现切割部位错位的情况。


