授权公布号:CN213671450U
一种立柱弹簧卡用模具
有效
申请
2020-11-12
申请公布
1970-01-01
授权
2021-07-13
预估到期
2030-11-12
| 申请号 | CN202022619772.7 |
| 申请日 | 2020-11-12 |
| 授权公布号 | CN213671450U |
| 授权公告日 | 2021-07-13 |
| 分类号 | B21D37/10;B21D37/08 |
| 分类 | 基本上无切削的金属机械加工;金属冲压; |
| 申请人名称 | 四川金城栅栏工程有限公司 |
| 申请人地址 | 四川省成都市新都区石板滩镇卫星城区石木工业片区 |
专利法律状态
2021-07-13
授权
状态信息
授权
摘要
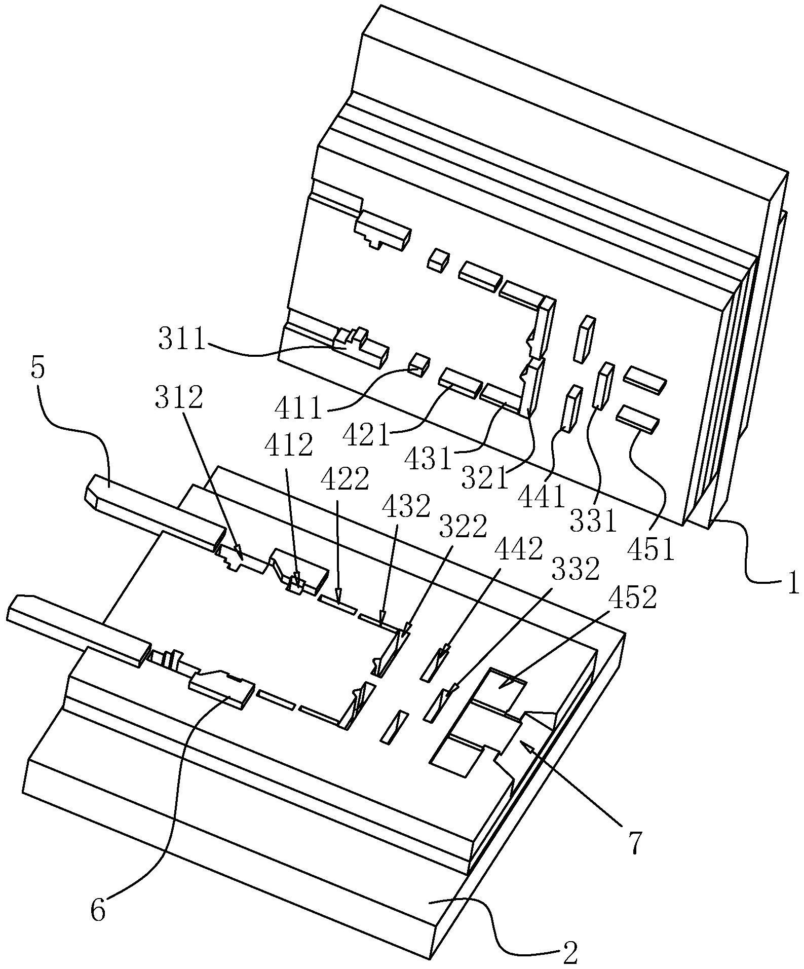
本申请涉及一种立柱弹簧卡用模具,属于模具领域,包括上模具和下模具,上模具和下模具之间按加工顺序依次设置有第一切边机构、第一折弯机构、第二折弯机构、第三折弯机构、第二切边机构、第四折弯机构、第三切边机构和第五折弯机构,第一切边机构、第二切边机构和第三切边机构用于对原材料的不同位置进行裁切,第一折弯机构、第二折弯机构、第三折弯机构、第四折弯机构和第五折弯机构用于对原材料进行折弯使原材料成型。本申请具有便于提高加工效率的效果。


