授权公布号:CN220562601U
汽车座椅、乘员保护系统及汽车
有效
申请
2023-08-30
申请公布
1970-01-01
授权
2024-03-08
预估到期
2033-08-30
| 申请号 | CN202322337240.8 |
| 申请日 | 2023-08-30 |
| 授权公布号 | CN220562601U |
| 授权公告日 | 2024-03-08 |
| 分类号 | B60N2/829 |
| 分类 | 一般车辆; |
| 申请人名称 | 上海汽车集团股份有限公司 |
| 申请人地址 | 上海市浦东新区自由贸易试验区松涛路563号1号楼509室 |
专利法律状态
2024-03-08
授权
状态信息
授权
摘要
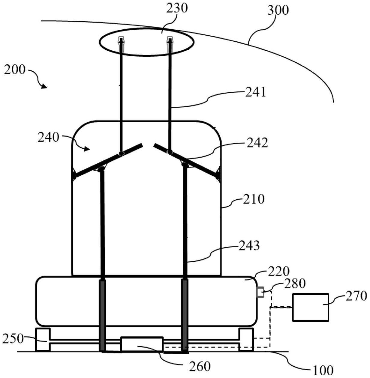
本实用新型提供一种汽车座椅、乘员保护系统及汽车,汽车座椅固定在汽车地板上,包括:座椅骨架、坐垫、头枕、调节部和支撑部;座椅骨架与坐垫固定连接;调节部设在头枕和汽车地板之间,分别与头枕和汽车地板固定连接,与座椅骨架转动连接;调节部的高度可调,用于调节头枕的高度;支撑部可伸缩地设在坐垫与汽车地板之间,分别与坐垫和汽车地板固定连接,用于调节坐垫的高度。当车辆发生顶压或翻滚时,增加调节部的高度来增加头枕的高度,使头枕与车顶贴合,降低支撑部的高度来降低坐垫的高度,使坐垫下移至最低位置,增大乘员生存空间,且整个座椅骨架与上下车身形成一个强度支撑柱,为乘员提供支持保护,避免挤压变形对乘员的伤害。


