授权公布号:CN203908817U
一种取样器
有效
申请
2014-07-01
申请公布
1970-01-01
授权
2014-10-29
预估到期
2024-07-01
| 申请号 | CN201420359720.2 |
| 申请日 | 2014-07-01 |
| 授权公布号 | CN203908817U |
| 授权公告日 | 2014-10-29 |
| 分类号 | G01N1/16 |
| 分类 | 测量;测试; |
| 申请人名称 | 佛山市溶洲建筑陶瓷二厂有限公司 |
| 申请人地址 | 广东省佛山市禅城区南庄镇溶洲星石佛山市溶洲建筑陶瓷二厂有限公司 |
专利法律状态
2020-10-09
专利权质押合同登记的生效、变更及注销
状态信息
专利权质押合同登记的生效、变更及注销
2020-09-18
专利实施许可合同备案的生效、变更及注销
状态信息
专利实施许可合同备案的生效 IPC(主分类):G01N1/16 合同备案号:X2020980005443 让与人:佛山市溶洲建筑陶瓷二厂有限公司 受让人:广东耀达融资租赁有限公司 实用新型名称:一种取样器 授权公告日:20141029 许可种类:独占许可 备案日期:20200827
2014-10-29
授权
状态信息
授权
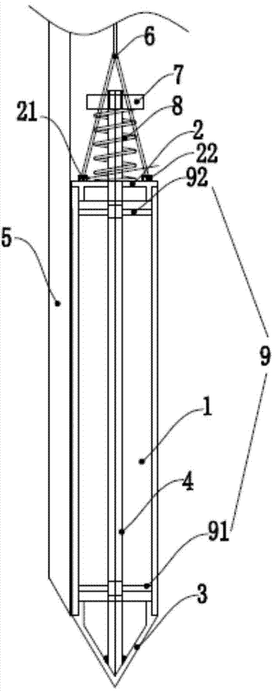
摘要
一种取样器,包括取样容器,所述取样容器包括主体、设置于所述主体上端的上压盖、下端的下底盖和穿过所述上压盖、所述主体内腔,与所述下压盖连接的中心轴;所述取样器还包括分节手把和细绳,所述分节手把是由多根首尾用螺纹旋紧的杆组成;所述主体与所述分节手把下端连接;所述细绳连接于所述上压盖。本实用新型主要通过利用分节手把调节长度,达到可以取到储料仓中不同层次粉料的目的,及时供生产过程分析使用,从而得到有效的数据,提高生产效率;而且分节手把的装卸方便、简单、快捷。


