授权公布号:CN218928677U
一种在线监控预浸料克重的装置
有效
申请
2022-09-22
申请公布
1970-01-01
授权
2023-04-28
预估到期
2032-09-22
| 申请号 | CN202222534071.2 |
| 申请日 | 2022-09-22 |
| 授权公布号 | CN218928677U |
| 授权公告日 | 2023-04-28 |
| 分类号 | B29C70/40;B29C70/54;B29C37/00 |
| 分类 | 塑料的加工;一般处于塑性状态物质的加工; |
| 申请人名称 | 中复(常州)新材料有限公司 |
| 申请人地址 | 江苏省常州市钟楼经济开发区梧桐路58号 |
专利法律状态
2023-04-28
授权
状态信息
授权
摘要
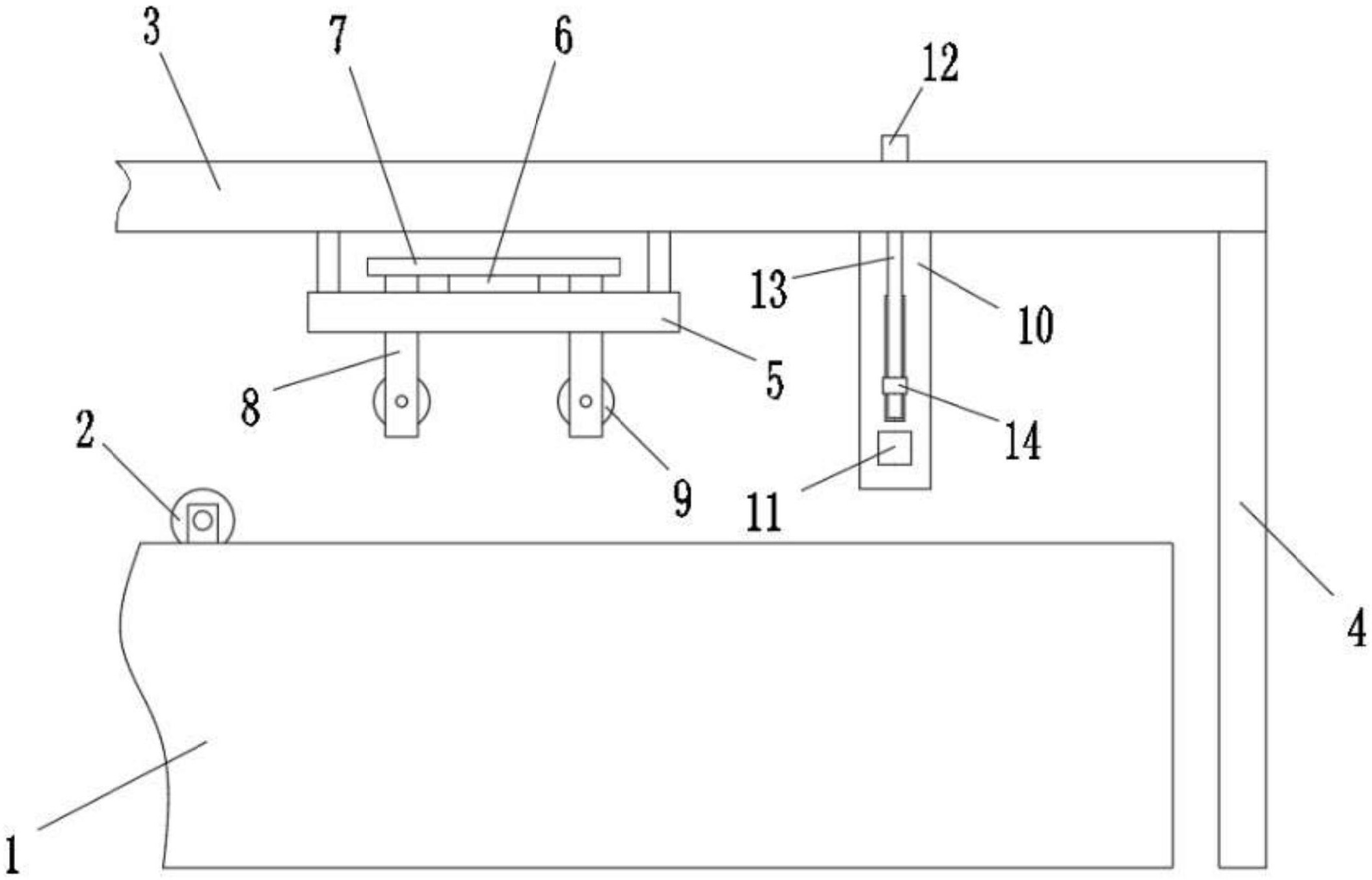
本实用新型涉及一种在线监控预浸料克重的装置,包括浸胶线储胶槽、出料导向辊、称重传感器和称重辊筒,所述的出料导向辊通过安装架连接在浸胶线储胶槽的两侧壁之间,所述出料导向辊的上端伸出浸胶线储胶槽,其特征在于:所述浸胶线储胶槽的正上方水平设置有支撑板,所述支撑板底部的四个角落各设置有一根立柱,所述出料导向辊右侧的支撑板的底部水平固定有安装板,所述的称重传感器设置在安装板上并且其的顶部连接有称重板,所述称重传感器左右两侧的称重板的底部各连接有一根称重辊筒,两根称重辊筒位于浸胶线储胶槽的正上方,所述的称重辊筒安装在U型支撑架的两侧壁之间。本设计具有结构简单、易于制造和实用高效的优点。


