授权公布号:CN220543308U
叠加式主板固定装置以及主机组件
有效
申请
2023-08-23
申请公布
1970-01-01
授权
2024-02-27
预估到期
2033-08-23
| 申请号 | CN202322290504.9 |
| 申请日 | 2023-08-23 |
| 授权公布号 | CN220543308U |
| 授权公告日 | 2024-02-27 |
| 分类号 | G06F1/18 |
| 分类 | 计算;推算;计数; |
| 申请人名称 | 长江存储科技有限责任公司 |
| 申请人地址 | 湖北省武汉市东湖新技术开发区未来三路88号 |
专利法律状态
2024-02-27
授权
状态信息
授权
摘要
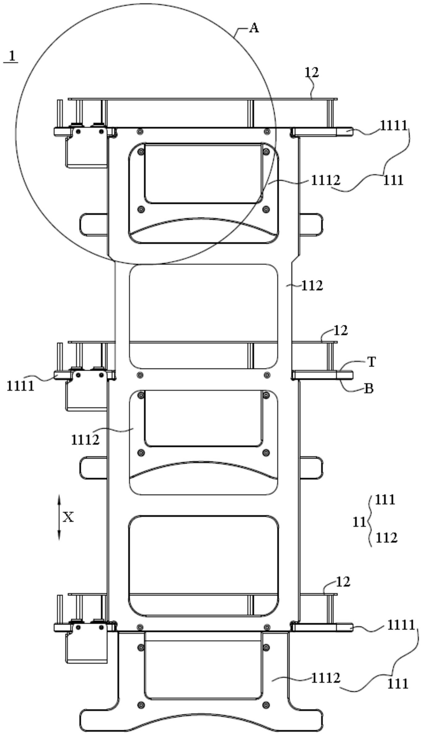
本公开的实施例提供了一种叠加式主板固定装置,涉及主板固定技术领域,用于在固定主板时,节省水平方向上的空间。叠加式主板固定装置包括多个承载件和连接件,所述承载件包括固定板,及与所述固定板的底面相连接的支撑部,所述支撑部连接于所述固定板的底面。沿所述固定板的厚度方向,多个所述承载件依次排布;所述连接件沿所述固定板的厚度方向延伸,且分别与各所述承载件连接;所述连接件用于限定其所连接的各所述承载件之间的相对位移。本公开用于固定主板。


