授权公布号:CN209440454U
一种地板加工定位装置
有效
申请
2018-09-12
申请公布
1970-01-01
授权
2019-09-27
预估到期
2028-09-12
| 申请号 | CN201821490454.1 |
| 申请日 | 2018-09-12 |
| 授权公布号 | CN209440454U |
| 授权公告日 | 2019-09-27 |
| 分类号 | B28B11/00 |
| 分类 | 加工水泥、黏土或石料; |
| 申请人名称 | 浙江新远见材料科技股份有限公司 |
| 申请人地址 | 浙江省湖州市德清县阜溪街道永平北路72号新远见10幢 |
专利法律状态
2019-09-27
授权
状态信息
授权
摘要
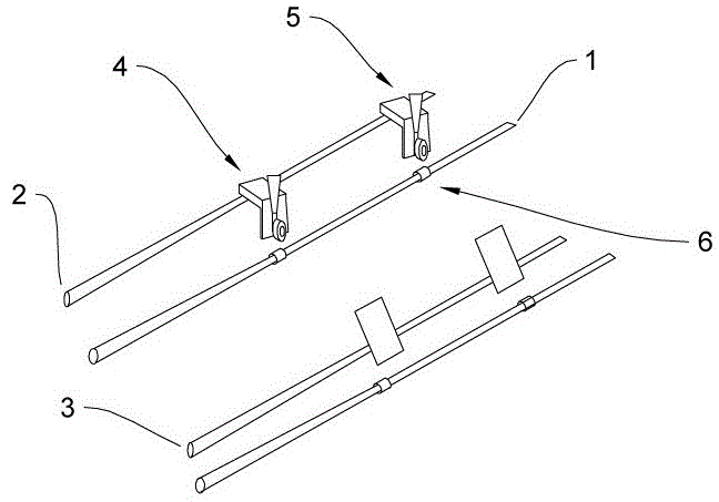
本实用新型提供一种地板加工定位装置,涉及地板加工技术领域。本实用新型为一种地板加工定位装置,包括地板运输件,架置于地板运输件上方的第一固定杆、第二固定杆,第一固定杆、第二固定杆均设有用于固定地板的第一锁紧件、第二锁紧件,第一锁紧件包括第一滑动部、设置于第一滑动部可上下移动的第一锁紧轮,第二锁紧件包括第二滑动部、设置于第二滑动部可上下移动的第二锁紧轮,还包括可滑动的套置于地板运输件的安全垫,第二锁紧轮设置光波发射器,安全垫设置用于接收光波发射器发射的信号的接收器。本实用新型通过光波发射器、接收器的配合作用精确定位所要定位木板的位置,能够准确定位地板位置,夹持力度大,不易发生位移。


