授权公布号:CN215167211U
轻质塑木型材
有效
申请
2021-04-07
申请公布
1970-01-01
授权
2021-12-14
预估到期
2031-04-07
| 申请号 | CN202120750741.7 |
| 申请日 | 2021-04-07 |
| 授权公布号 | CN215167211U |
| 授权公告日 | 2021-12-14 |
| 分类号 | E04C3/36;E04H17/14;E01F15/02;E01D19/10;E04F11/18;E04G25/00 |
| 分类 | 建筑物; |
| 申请人名称 | 江苏福瑞森塑木科技股份有限公司 |
| 申请人地址 | 江苏省无锡市宜兴市徐舍工业园区徐丰路 |
专利法律状态
2021-12-14
授权
状态信息
授权
摘要
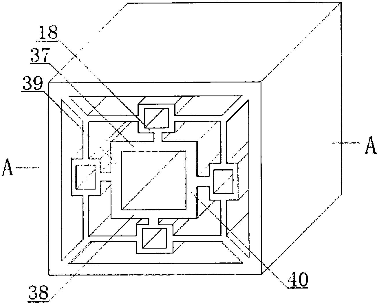
轻质塑木型材由塑木外上、下横板,外左、右竖板,左上、右上、左下、右下斜接板,中上左、右横板,中下左、右横板,中左上、下竖板,中右上、下竖板,中上上、下横板、左、右竖板,中下上、下横板、左、右竖板,中左上、下横板、左、右竖板,中右上、下横板、左、右竖板,中上、中下竖接板,中左、中右横接板,内上、内下横板,内左及内右竖板构成整体结构。本实用新型轻质塑木型材造型独特,重量轻,整体性强,强度高,刚性大,不变形,稳定性好,触感好,不碎裂,防水耐老化,不锈蚀,生产制造方便,废弃后可以重新加工再生,成本低,环境友好。可用于制作塑木立柱、支撑架、护栏、扶手等制品。


