授权公布号:CN213390998U
一种钢基空腹网络地板
有效
申请
2020-09-23
申请公布
1970-01-01
授权
2021-06-08
预估到期
2030-09-23
| 申请号 | CN202022107411.4 |
| 申请日 | 2020-09-23 |
| 授权公布号 | CN213390998U |
| 授权公告日 | 2021-06-08 |
| 分类号 | E04F15/02;E04F15/06;E04F15/024 |
| 分类 | 建筑物; |
| 申请人名称 | 莱州市华福机房材料有限公司 |
| 申请人地址 | 山东省烟台市莱州市三山岛街道东南村 |
专利法律状态
2021-06-08
授权
状态信息
授权
摘要
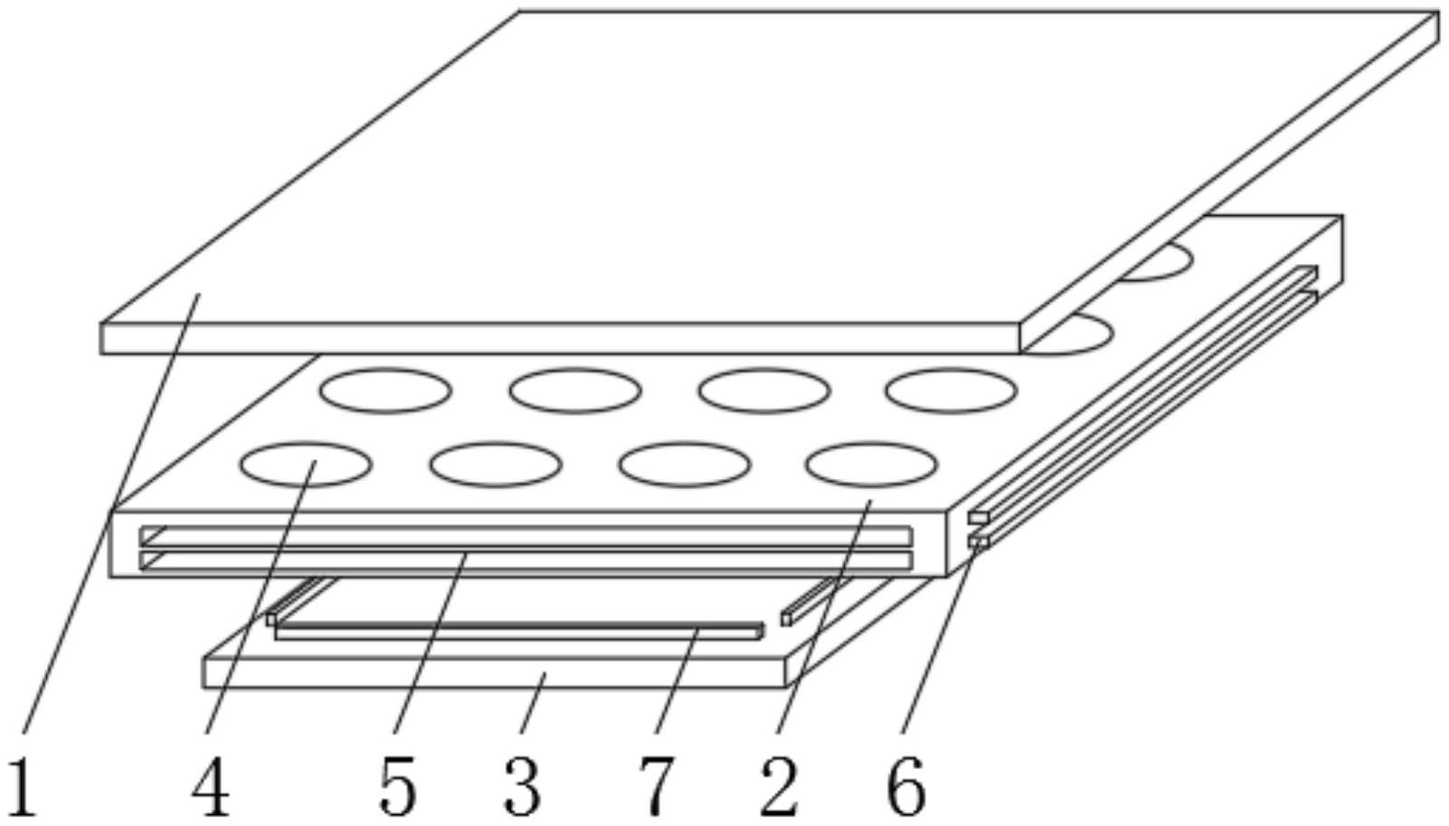
本实用新型涉及地板技术领域,具体是一种钢基空腹网络地板,所述盖板的下方安装有承载板,所述承载板的上表面开设有凹槽,且承载板的两侧分别设置有槽口和卡板,所述承载板的下表面均匀开设有卡槽,且承载板的下方还安装有支撑架,所述支撑架的上表面固定安装有与卡槽适配的卡块,且支撑架的下方等间距均匀安装有升降件。本实用新型结构简单、设计新颖,通过凹槽既降低了原料的成本,同时增加承载板的承载力,从而提高地板的稳定性,通过槽口与卡板卡合,使得相邻的两个地板间的连接更加简单、紧密,提高整个网络地板的稳定性,且使地板安装后更加美观,通过升降件调节地板安装时所需的高度,以适应不同的客户需求。


