授权公布号:CN213572812U
一种活动地板可调式支架
有效
申请
2020-10-15
申请公布
1970-01-01
授权
2021-06-29
预估到期
2030-10-15
| 申请号 | CN202022287275.1 |
| 申请日 | 2020-10-15 |
| 授权公布号 | CN213572812U |
| 授权公告日 | 2021-06-29 |
| 分类号 | E04F15/024 |
| 分类 | 建筑物; |
| 申请人名称 | 莱州市华福机房材料有限公司 |
| 申请人地址 | 山东省烟台市莱州市三山岛街道东南村 |
专利法律状态
2021-06-29
授权
状态信息
授权
摘要
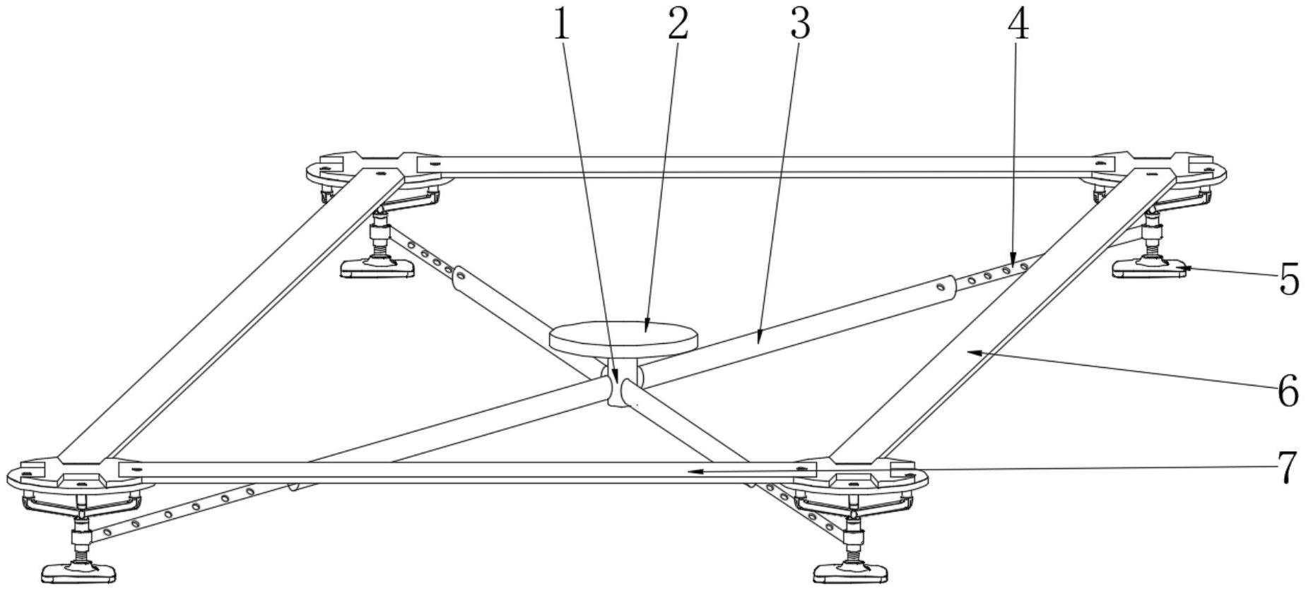
本实用新型涉及活动地板技术领域,公开了一种活动地板可调式支架,为了提高活动地板支架的灵活组装使用性,所述支撑立柱的顶端固定有中心支撑盘,所述伸缩支杆通过定位卡套与升降调节支座套接固定,所述升降调节支座的上方位于两侧位置处对称卡合有纵向安装板,且升降调节支座的上方位于前后两侧位置处对称卡合有横向安装板。本实用新型通过支撑主杆与伸缩支杆的配套组合,在升降调节支座的升降调节下,能够对升降调节支座的支撑大小进行精准、灵活调节,且在调节使用过程中,通过纵向安装板、横向安装板对升降调节支座的卡合定位,在支撑主杆与伸缩支杆对升降调节支座的再次套接固定下,能够提高地板支架的支撑稳定性。


