授权公布号:CN213509382U
一种新型小边条钢制活动地板
有效
申请
2020-09-28
申请公布
1970-01-01
授权
2021-06-22
预估到期
2030-09-28
| 申请号 | CN202022160085.3 |
| 申请日 | 2020-09-28 |
| 授权公布号 | CN213509382U |
| 授权公告日 | 2021-06-22 |
| 分类号 | E04F15/024;E04F15/06 |
| 分类 | 建筑物; |
| 申请人名称 | 莱州市华福机房材料有限公司 |
| 申请人地址 | 山东省烟台市莱州市三山岛街道东南村 |
专利法律状态
2021-06-22
授权
状态信息
授权
摘要
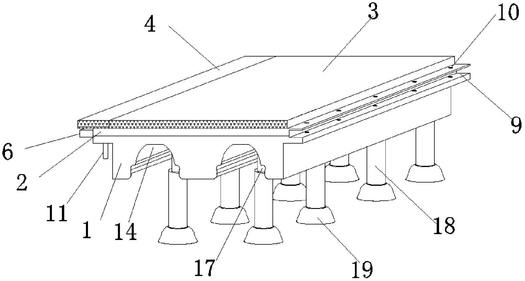
本实用新型涉及活动地板的技术领域,具体是一种新型小边条钢制活动地板,所述底座的一侧固定设有中间板,所述中间板远离所述底座的一侧固定设有上层板,所述上层板的一侧固定设有凸板,所述凸板的下方一侧固定设有密封板,所述密封板的下方一侧且位于所述中间板和所述底座的连接处固定设有插板。本实用新型结构简单,密封板和密封条能够对两地板之间的连接处起到密封的作用,能够起到防水功能,同时支撑装置和调节辅助装置,能够了地板放置稳定性,同时能够对地板的中间起到支撑的作用,增加其承受力,避免地板中间处的折断,增加了使用的安全性,插槽与插板之间连接增加了安装拆卸的方便性,增加了使用的方便性。


