授权公布号:CN213509383U
一种木基防静电地板支架
有效
申请
2020-10-09
申请公布
1970-01-01
授权
2021-06-22
预估到期
2030-10-09
| 申请号 | CN202022214816.8 |
| 申请日 | 2020-10-09 |
| 授权公布号 | CN213509383U |
| 授权公告日 | 2021-06-22 |
| 分类号 | E04F15/024 |
| 分类 | 建筑物; |
| 申请人名称 | 莱州市华福机房材料有限公司 |
| 申请人地址 | 山东省烟台市莱州市三山岛街道东南村 |
专利法律状态
2021-06-22
授权
状态信息
授权
摘要
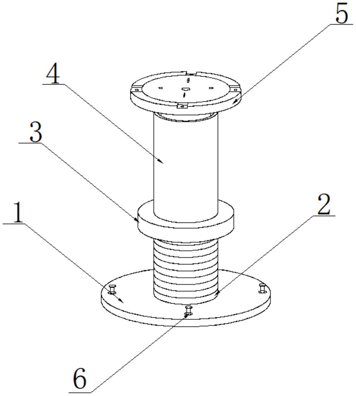
本实用新型涉及装修器材领域,具体公开了一种木基防静电地板支架,包括支架脚垫,所述支架脚垫的上表面安装有螺纹支撑套管,所述螺纹支撑套管的外侧套接有升降转动环,所述升降转动环的上表面安装有上支撑套管,所述支架垫板的下表面位于螺纹支撑套管的内部安装有下支撑柱,所述橡胶垫片的上方设置有骨架安装槽,所述支架垫板的上表面位于骨架安装槽的内部设置有连接螺孔,且支架垫板的下表面安装有下支撑柱。通过更换不同的支架垫板,从而能够适用对不同的地板和龙骨的安装支撑,转动升降转动环和螺纹支撑套管,升降转动环动上支撑套管整体向上移动,支架垫板整体会向上运动,从而可以改变地板的铺设高度。


