授权公布号:CN213774285U
一种抗静电活动地板支架
有效
申请
2020-10-09
申请公布
1970-01-01
授权
2021-07-23
预估到期
2030-10-09
| 申请号 | CN202022214724.X |
| 申请日 | 2020-10-09 |
| 授权公布号 | CN213774285U |
| 授权公告日 | 2021-07-23 |
| 分类号 | E04F15/024 |
| 分类 | 建筑物; |
| 申请人名称 | 莱州市华福机房材料有限公司 |
| 申请人地址 | 山东省烟台市莱州市三山岛街道东南村 |
专利法律状态
2021-07-23
授权
状态信息
授权
摘要
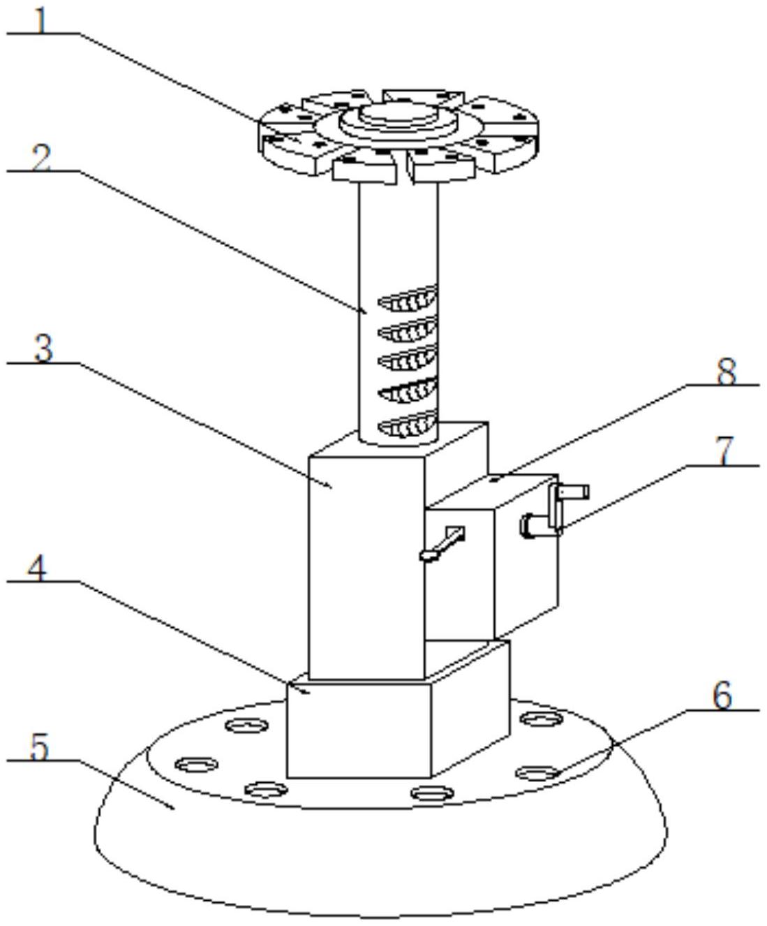
本实用新型涉及装修材料技术领域,具体是一种抗静电活动地板支架,包括固定柱,所述固定柱的顶部插接有齿柱,且固定柱的一侧设有驱动箱,所述驱动箱内设有第一转轴,且第一转轴上套接有驱动齿轮,所述第一转轴上且位于驱动齿轮的一侧套接有限位齿轮,所述第一转轴的下方设有第二转轴,且第二转轴上套接有过度齿轮,所述过度齿轮和驱动齿轮啮合。本装置通过活动组装连接可以调节整个支架的高度,在安装时若地面水平度不够时可以通过调节支架的高低使防静电地板在同一水平线上,以保证地板的平整度,本装置中支架由固定柱和齿柱组合而成,二者之间设有驱动箱,驱动箱内设有齿轮通过齿轮转动带动齿柱2进行升降。


