授权公布号:CN215054879U
一种带有连接结构的钢地板
有效
申请
2021-03-25
申请公布
1970-01-01
授权
2021-12-07
预估到期
2031-03-25
| 申请号 | CN202120614693.9 |
| 申请日 | 2021-03-25 |
| 授权公布号 | CN215054879U |
| 授权公告日 | 2021-12-07 |
| 分类号 | E04F15/02;E04F15/06;E04F15/22 |
| 分类 | 建筑物; |
| 申请人名称 | 常州市华一防静电活动地板有限公司 |
| 申请人地址 | 江苏省常州市武进区横林镇崔桥崔横支二路1号 |
专利法律状态
2021-12-07
授权
状态信息
授权
摘要
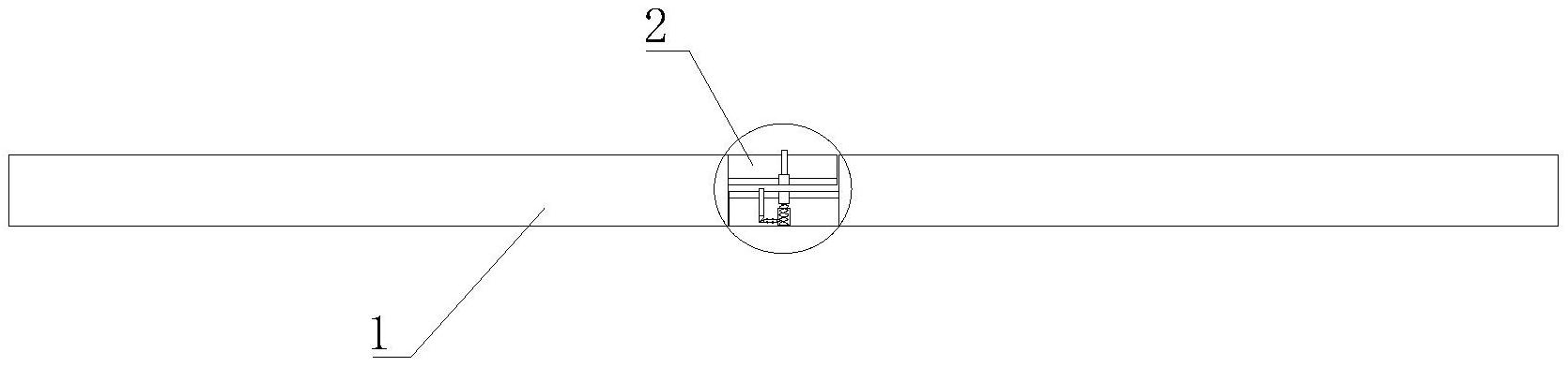
本实用新型属于钢地板的技术领域,具体涉及一种带有连接结构的钢地板,这种带有连接结构的钢地板包括:地板本体;所述地板本体的四个侧边均设置有连接装置;所述连接装置包括设置在所述地板本体上的下连接层和相邻所述地板本体上设置的上连接层,所述下连接层和上连接层相对设置,所述下连接层的上表面设置有接触式弹出机构,相邻上连接层设置有供接触式弹出组件嵌入的固定槽。这种带有连接结构的钢地板具有稳定的连接结构,方便地板之间连接的效果。


