授权公布号:CN214758968U
一种杀菌釜用的新型杀菌温控系统
有效
申请
2021-04-15
申请公布
1970-01-01
授权
2021-11-19
预估到期
2031-04-15
| 申请号 | CN202120769888.0 |
| 申请日 | 2021-04-15 |
| 授权公布号 | CN214758968U |
| 授权公告日 | 2021-11-19 |
| 分类号 | A23L3/00 |
| 分类 | 其他类不包含的食品或食料;及其处理; |
| 申请人名称 | 上海信元宠物食品有限公司 |
| 申请人地址 | 上海市青浦区天一路533号1幢 |
专利法律状态
2021-11-19
授权
状态信息
授权
摘要
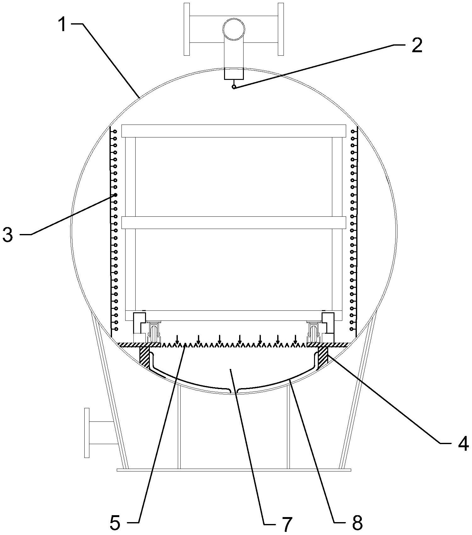
本实用新型提出了一种杀菌釜用的新型杀菌温控系统,包括釜体,釜体内顶部设有一组第一喷头,釜体两侧均设有一组第二喷头,釜体底部的两侧均设有滑轨支撑架,釜体底部沿其长度方向的两端转动配合行分布的多个夹角板,相邻的夹角板存有流通孔,多个夹角板、釜体底部、滑轨支撑架三者围成底侧换热内腔,底侧换热内腔设有换热管。设置了可转动的夹角板形成了底侧换热内腔,在底侧换热内腔设置换热管,从而改变釜体底侧的温度变化,使得升温杀菌时保持底侧温差不大,有利于食品罐体的底部杀菌;或使得降温冷却时形成底侧较大温差,加快降温速度。


