授权公布号:CN215465494U
用于灭火器加工处理的支撑架
有效
申请
2021-09-27
申请公布
1970-01-01
授权
2022-01-11
预估到期
2031-09-27
| 申请号 | CN202122346516.X |
| 申请日 | 2021-09-27 |
| 授权公布号 | CN215465494U |
| 授权公告日 | 2022-01-11 |
| 分类号 | B05B13/02;B41J11/00;B41F17/20 |
| 分类 | 一般喷射或雾化;对表面涂覆液体或其他流体的一般方法〔2〕; |
| 申请人名称 | 安徽华星消防设备(集团)有限公司 |
| 申请人地址 | 安徽省芜湖市湾沚区机械工业园 |
专利法律状态
2022-01-11
授权
状态信息
授权
摘要
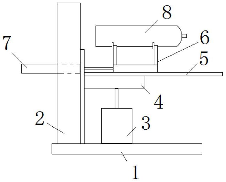
本实用新型公开了一种用于灭火器加工处理的支撑架,包括基板,还包括升降缸、升降支撑板、轨道以及用于支撑定位灭火器筒体的定位架;所述升降缸设在基板上,升降支撑板的下部与升降缸的活塞杆上端部相连,轨道设在升降支撑板上,定位架的下部可滑动的设在轨道上,定位架上设有用于支撑灭火器筒体下部外缘的一组支撑滚轮。该用于灭火器加工处理的支撑架结构设计合理,灭火器筒体定位后可进行高度位置调整、纵向位置调整以及转动调整,位置调整操作简便,大幅提高了效率;并且调整幅度大,利于操作处理。


