授权公布号:CN111569325B
一种水基灭火器结构
有效
申请
2020-05-29
申请公布
2020-08-25
授权
2023-04-18
预估到期
2040-05-29
| 申请号 | CN202010479017.5 |
| 申请日 | 2020-05-29 |
| 申请公布号 | CN111569325A |
| 申请公布日 | 2020-08-25 |
| 授权公布号 | CN111569325B |
| 授权公告日 | 2023-04-18 |
| 分类号 | A62C13/76;A62C31/05;A62C37/00 |
| 分类 | 救生;消防; |
| 申请人名称 | 安徽华星消防设备(集团)有限公司 |
| 申请人地址 | 安徽省芜湖市芜湖县芜湖机械工业园内 |
专利法律状态
2023-04-18
授权
状态信息
授权
2020-08-25
公布
状态信息
公布
摘要
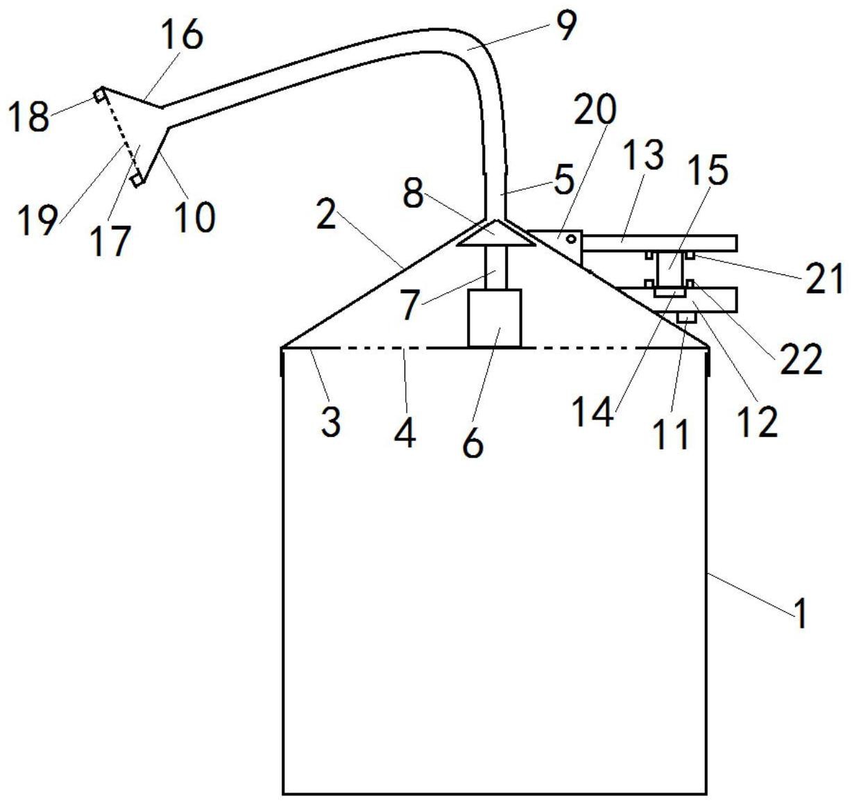
本发明提供一种应用于消防器材技术领域的水基灭火器结构,所述的水基灭火器结构的筒盖(2)下端内壁设置筒盖螺纹部,筒体(1)上端外壁设置筒体螺纹部,筒盖(2)内壁靠近下端设置连接板(3),连接板(3)上设置多个通孔(4),筒盖(2)上端设置出口管(5),连接板(3)上设置伸缩气缸(6),伸缩气缸(6)的伸缩杆(7)上端设置调节封堵塞(8),伸缩气缸(6)与能够控制伸缩气缸(6)的伸缩杆(7)伸缩的控制部件(11)连接,本发明所述的水基灭火器结构,在不使用时能够方便可靠实现出口管的封堵,提高封闭性能,在使用时能够方便、精确调节出口管开启角度,满足灭火时根据火势大小准确控制灭火器,提升灭火器性能。


