授权公布号:CN109014493B
链轮气割定位辅助装置及链轮气割定位方法
有效
申请
2018-09-10
申请公布
2018-12-18
授权
2024-01-26
预估到期
2038-09-10
| 申请号 | CN201811048551.X |
| 申请日 | 2018-09-10 |
| 申请公布号 | CN109014493A |
| 申请公布日 | 2018-12-18 |
| 授权公布号 | CN109014493B |
| 授权公告日 | 2024-01-26 |
| 分类号 | B23K7/10 |
| 分类 | 机床;不包含在其他类目中的金属加工; |
| 申请人名称 | 宁夏天地奔牛实业集团有限公司 |
| 申请人地址 | 宁夏回族自治区石嘴山市大武口区金工路一号 |
专利法律状态
2024-01-26
授权
状态信息
授权
2019-01-11
实质审查的生效
状态信息
实质审查的生效;IPC(主分类):B23K7/10;申请日:20180910
2018-12-18
公布
状态信息
公布
摘要
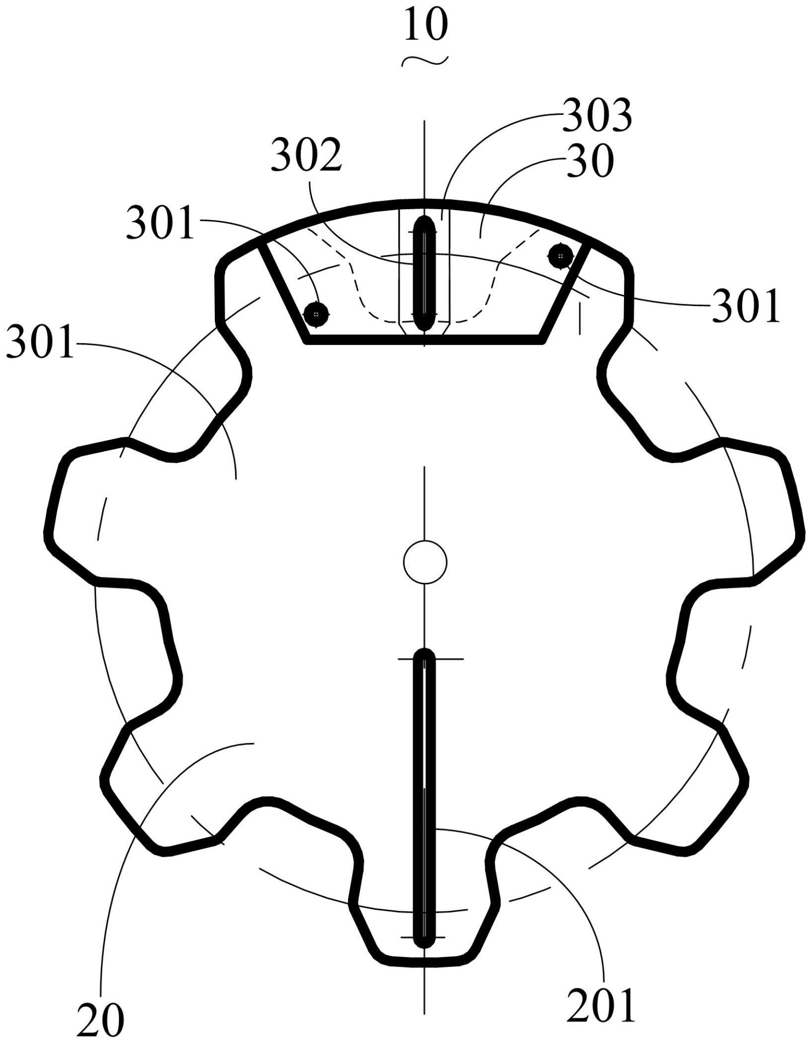
链轮气割定位辅助装置包括仿形样板、辅助定位盘、定位销、定位枪、定位杆,所述仿形样板为链轮状,仿形样板上设有第一辅助引导长孔,第一辅助引导长孔位于仿形样板的齿顶圆的对称轴上,仿形样板上的相邻的两个齿上设有第一定位孔,辅助定位盘上设有与第一定位孔相对应的第二定位孔,以使辅助定位盘与仿形样板通过定位销连接,辅助定位盘上设有第二辅助引导长孔,第二辅助引导长孔位于仿形样板的齿顶圆的对称轴上,辅助定位盘的外径与仿形样板的齿顶圆的直径相同,辅助定位盘的宽度大于仿形样板的齿根到齿顶的距离,定位枪的上端与第二辅助引导长孔卡合连接,定位杆的下端为锥状,以便于确定切割基准点。本发明还提供链轮气割定位方法。


