授权公布号:CN216855795U
一种高压过滤器结构
有效
申请
2021-12-24
申请公布
1970-01-01
授权
2022-07-01
预估到期
2031-12-24
| 申请号 | CN202123284217.4 |
| 申请日 | 2021-12-24 |
| 授权公布号 | CN216855795U |
| 授权公告日 | 2022-07-01 |
| 分类号 | B01D29/00;B01D35/31 |
| 分类 | 一般的物理或化学的方法或装置; |
| 申请人名称 | 安徽神剑新材料股份有限公司 |
| 申请人地址 | 安徽省芜湖市芜湖经济技术开发区桥北工业园保顺路8号 |
专利法律状态
2022-07-01
授权
状态信息
授权
摘要
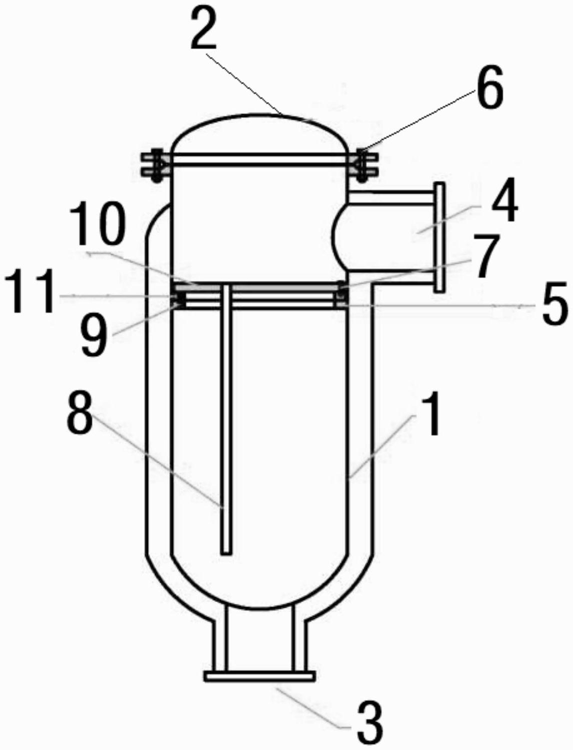
本实用新型提供一种应用于物料过滤设备技术领域的高压过滤器结构,所述的高压过滤器结构包括过滤器罐体(1),过滤器罐体(1)下部设置入口部(3),过滤器罐体(1)靠近上部侧面设置出口部(4),过滤器罐体(12)内壁设置固定圆盘(10),固定圆盘(10)下表面设置向入口部(3)方向延伸的滤棒(8),固定圆盘(10)下方设置支环(5),支环(5)外圈和过滤器罐体(1)内壁之间设置环形密封圈(11),本实用新型所述的高压过滤器结构,通过密封圈的布置替换垫片,确保密封精度,同时避免频繁更换垫片,提高使用便利性。


