授权公布号:CN214271359U
一种压力可调式缩呢机
有效
申请
2020-11-30
申请公布
1970-01-01
授权
2021-09-24
预估到期
2030-11-30
| 申请号 | CN202022823737.7 |
| 申请日 | 2020-11-30 |
| 授权公布号 | CN214271359U |
| 授权公告日 | 2021-09-24 |
| 分类号 | D06C17/02 |
| 分类 | 织物等的处理;洗涤;其他类不包括的柔性材料; |
| 申请人名称 | 威海恒泰毛毯有限公司 |
| 申请人地址 | 山东省威海市文登经济开发区教场路东 |
专利法律状态
2021-09-24
授权
状态信息
授权
摘要
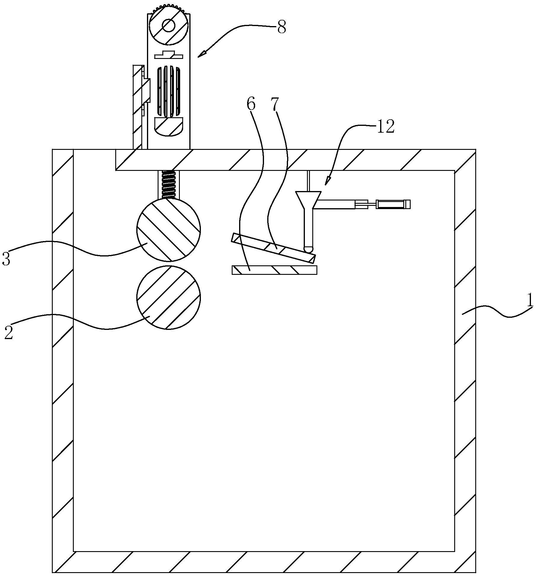
本申请涉及一种压力可调式缩呢机,属于纺织设备的领域,其包括一端开口的箱体;所述箱体内设有两根上下平行设置的上辊筒和下辊筒;所述下辊筒两端均转动连接于箱体内壁上;所述箱体两侧壁位于下辊筒上方均竖直开设有滑槽;所述上辊筒两端均转动连接有与滑槽滑动配合的滑块;所述箱体上连接有用于驱动滑块运动的驱动组件。本申请具有适合对不同厚度面料进行缩呢的效果。


