授权公布号:CN209268551U
一种鱿鱼切纹装置
有效
申请
2018-06-15
申请公布
1970-01-01
授权
2019-08-20
预估到期
2028-06-15
| 申请号 | CN201820932607.7 |
| 申请日 | 2018-06-15 |
| 授权公布号 | CN209268551U |
| 授权公告日 | 2019-08-20 |
| 分类号 | A22C25/00;A22C25/08 |
| 分类 | 屠宰;肉品处理;家禽或鱼的加工; |
| 申请人名称 | 福建岳海水产食品有限公司 |
| 申请人地址 | 福建省宁德市蕉城区飞鸾工业集中区1号 |
专利法律状态
2019-08-20
授权
状态信息
授权
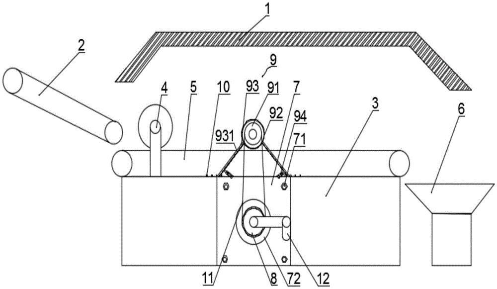
摘要
本实用新型涉及一种鱿鱼切纹装置,特别涉及于水产品加工设备领域。本实用新型包括送料装置、传送装置和收集仓,传送装置设于支撑座的上方,支撑座的上方还设有压辊装置,支撑座上设有安装板,安装板的正上方设有切割装置和卡紧件;切割装置包括切料滚筒、设于切料滚筒上环形刀片、用于支撑切料滚筒的支撑架,支撑架上设有嵌入孔。现有技术中为了追求菜色的美感,往往将鱿鱼切纹设计,本实用新型克服了现有技术中人工切纹成本较高,另一方面难以控制切割力度的缺点。本实用新型通过将鱿鱼压平之后再通过传送装置传送到切割装置切割,切割装置上设有环形刀片,环形刀片到传送装置的高度通过衔接调节柱和支撑杆进行调节,防止切断鱿鱼。


