授权公布号:CN208972478U
一种用于水产品加工的冷风装置
有效
申请
2018-06-15
申请公布
1970-01-01
授权
2019-06-14
预估到期
2028-06-15
| 申请号 | CN201820934421.5 |
| 申请日 | 2018-06-15 |
| 授权公布号 | CN208972478U |
| 授权公告日 | 2019-06-14 |
| 分类号 | A23B4/06 |
| 分类 | 其他类不包含的食品或食料;及其处理; |
| 申请人名称 | 福建岳海水产食品有限公司 |
| 申请人地址 | 福建省宁德市蕉城区飞鸾工业集中区1号 |
专利法律状态
2019-06-14
授权
状态信息
授权
摘要
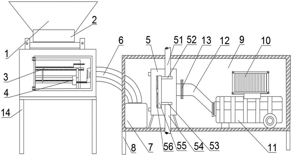
本实用新型涉及一种用于水产品加工的冷风装置,特别涉及于水产品加工设备领域。本实用新型包括落料仓、自动控制阀、震动排列装置、冷风降温装置、排列输送槽、传送带、降温仓、空气过滤器、气泵、气流通道、机架;震动排列装置的物料出口端与排列输送槽相连,气流通道与气泵相连,气泵的上方设有空气过滤器;冷风降温装置包括进水管、冷凝器、第一衔接水管、风扇、出水管、第二衔接水管。本实用新型克服了现有技术中需要对水产品进行风干,自然风干的晒制过程受天气影响严重,卫生条件差的缺点。本实用新型将通过降温仓内的冷风降温装置降温,主要运用冷凝器和气泵吸收的空气配以风扇,提供冷风避免水产品加工时变质。


